Exemples: Vue en coupe dans un décalage

Ces exemples illustrent l'ajout de décalages à une ligne de coupe.

Décalage d'arc

  1. Localiser une ligne de coupe horizontale Cutting-line-Horizontal.png.
    section-arc-offset-1.gif
  2. Ajouter un décalage d'arc sectionxpert-arc-offset.png.
    section-arc-offset-2.gif section-arc-offset-3.gif

    Premier point sur la ligne de coupe pour commencer le décalage d'arc

    Deuxième point sur la géométrie pour définir l'angle du décalage

  3. dans la vue en coupe
    section-arc-offset-complete.gif

Décalage simple

  1. Localiser une ligne de coupe verticale Cutting-line-Vertical.png.
    section-single-offset-1-U.gif
  2. Ajouter un décalage simple sectionxpert-single-offset.png.
    section-single-offset-2-U.gif section-single-offset-3-U.gif

    Premier point sur la ligne de coupe pour commencer le décalage simple

    Deuxième point sur la géométrie pour définir la profondeur du décalage

  3. dans la vue en coupe
    section-single-offset-complete-U.gif

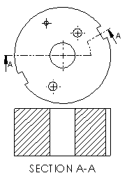
Décalage d'encoche

  1. Localiser une ligne de coupe horizontale Cutting-line-Horizontal.png.
    section-notch-offset-1.gif
  2. Ajouter un décalage d'encoche sectionxpert-notch-offset.png.
    section-notch-offset-2.gif section-notch-offset-3.gif

    Premier point sur la ligne de coupe pour commencer le décalage d'encoche

    Deuxième point sur la ligne de coupe pour définir la longueur du décalage

    section-notch-offset-4.gif  

    Troisième point sur la géométrie pour définir la profondeur du décalage

     
  3. dans la vue en coupe
    section-notch-offset-complete.gif