Référence DimXpert

Vous pouvez utiliser l'outil Référence de DimXpert pour définir les fonctions de référence.

Pour accéder à cet outil :

Cliquez sur Référence (barre d'outils MBD Dimension) ou sur Outils > MBD Dimension > Référence.

Cet outil prend en charge les types de fonctions suivants :

  • Bossage
  • &Cylindre
  • Encoche
  • Plan
  • Perçage simple
  • Rainure
  • Largeur

La plupart des options du PropertyManager Référence de DimXpert sont similaires à celles du PropertyManager Référence non spécifique à DimXpert. Les différences sont indiquées ci-dessous.

Paramètres des labels

Lorsque vous appliquez ou éditez une référence, entrez un Label de référence et attribuez-lui un type de ligne d'attache.

Spécifiez le label initial dans Outils > Options > Propriétés du document > Norme d'habillage > Annotations > Références .

Lorsque vous saisissez des labels de référence, la syntaxe des valeurs d'entrée est vérifiée selon la norme de la mise en plan active. Par exemple :

  • L'entrée d'une valeur numérique génère un message d'avertissement pour toutes les normes.
  • L'entrée de I, O, ou Q génère un message d'avertissement lorsque vous utilisez la norme ANSI.
  • L'entrée de AA génère un message d'avertissement lorsque vous utilisez la norme ISO.

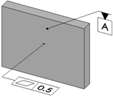
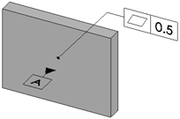
Lignes d'attache

Surface Attache le triangle de référence à la surface d'une fonction.

Ligne d'attache dirigée Attache le triangle de référence à une ligne d'attache dirigée.

Cotation parallèle Attache le triangle de référence à une cote ou une définition du contenu des cases.



Tolérance géométrique Attache le triangle de référence à une définition du contenu des cases.

Exemples de références par fonction

Bossage
&Cylindre
Encoche
Plan
Perçage simple

Rainure
Largeur