Nastavení možností středových značek

Nastavení možností pro středové značky:

  1. Klepněte na Možnosti Tool_Options_Standard.gif a vyberte položku Osy/Středové značky na záložce Vlastnosti dokumentu.
  2. Pod položkou Středové značky postupujte takto:
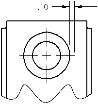
    1. Zadejte hodnotu pro nastavení Velikost. Velikost určuje délku, o kterou středová značka přesahuje za hranu modelu, a velikost symbolu bodu ve středu.
      cline_cmark_size.gif
    2. Zadejte hodnotu do nastavení Mezera. Mezera určuje vzdálenost mezi středovou značkou a vynášecí čarou. Nastavení Mezera je k dispozici tehdy, jestliže není zaškrtnuté políčko Přizpůsobit podle měřítka zobrazení.

    3. Zaškrtněte nebo zrušte zaškrtnutí políček Přizpůsobit podle měřítka zobrazení, Prodloužené čáryStyl osy.
  3. V nabídce Středové značky drážky vyberte položku Umístit podle drážky nebo Umístit podle listu a potom zvolte možnost umístění středové značky drážky. Tato nastavení určují jak rovné nebo zakřivené budou vytvořené drážky.
  4. Zvolte položku Detailní určení na záložce Vlastnosti dokumentu. V položce Automaticky vložit při tvorbě pohledu zaškrtněte nebo zrušte výběr pole:
    • Středové značky – díry -díl
    • Středové značky – zaoblení -díl
    • Středové značky drážky -díl
    • Středové značky – díry -sestava
    • Středové značky – zaoblení -sestava
    • Středové značky – drážky -sestava
    Je-li toto políčko zaškrtnuto, středové značky se vkládají automaticky do všech příslušných kružnic, oblouků a zaoblení v nových pohledech výkresu.
  5. Klepněte na OK.