Festlegen von Optionen für Mittelkreuze

Optionen für Mittelkreuze festsetzen:

  1. Klicken Sie auf Optionen Tool_Options_Standard.gif, und wählen Sie auf der Registerkarte Mittellinien/Mittelkreuze Mittellinien/Mittelkreuze aus.
  2. Unter Mittelkreuze:
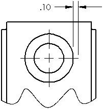
    1. Geben Sie einen Wert ein für Größe. Größe definiert die Länge, um die das Mittelkreuz über die Modellkante hinaus ragt sowie die Größe des Punktsymbols in der Mitte.
      cline_cmark_size.gif
    2. Geben Sie einen Wert für Spalt ein. Spalt steuert den Abstand zwischen dem Mittelkreuz und der Maßhilfslinie. Spalt ist verfügbar, wenn Maßstab nach Ansichtsmaßstab deaktiviert ist.

    3. Aktivieren oder deaktivieren Sie die Felder für Maßstab nach Ansichtsmaßstab, Verlängerte Linien und Mittellinien-Linienart.
  3. Wählen Sie unter Langloch-Mittelkreuze Auf Langloch ausrichten oder Auf Blatt ausrichten, und wählen Sie die Langloch-Mittelkreuz-Positionierungsoption aus. Diese Einstellungen bestimmen, wie gerade bzw. gekrümmte Langlöcher erstellt werden.
  4. Wählen Sie Detaillierung aus der Registerkarte Dokumenteigenschaften. Aktivieren oder deaktivieren Sie im Feld Bei Ansichtserstellung automatisch einfügen das Kontrollkästchen für.
    • Mittelkreuze-Bohrungen -Teil
    • Mittelkreuze-Verrundungen -Teil
    • Mittelkreuze-Langlöcher -Teil
    • Mittelkreuze-Bohrungen -Baugruppe
    • Mittelkreuze-Verrundungen -Baugruppe
    • Mittelkreuze-Langlöcher -Baugruppe
    Wenn diese Option ausgewählt ist, werden Mittelkreuze automatisch in alle passenden Kreise, Kreisbogen und Verrundungen in neuen Zeichnungen eingefügt.
  5. Klicken Sie auf OK.