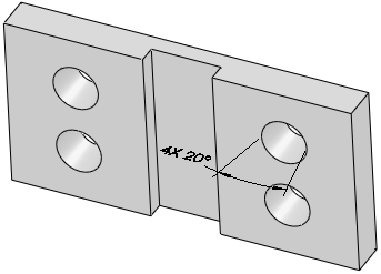
Funzioni supportate Quota dimensione DimXpert Funzione Esempio e tipo di quota Estrusione Diametro Smusso Angolo-distanza Distanza-distanza DimXpert quota gli smussi SOLIDWORKS con il metodo utilizzato per la loro definizione. Gli smussi riconosciuti per via della topologia sono misurati nella forma Distanza-distanza. Cono Un gruppo di coni esterni o interni deve avere lo stesso angolo compreso e giacere su un piano comune. Cilindro Raggio Funzione Esempio e tipo di quota Raccordo Raggio Interseca cerchio Un cerchio derivato all'intersezione di un cono e piano. Il cono deve essere perpendicolare al piano e non può essere creato da un'ellisse. Il cono e piano possono essere interrotti da un raccordo o smusso. Foro lamato Diametro e profondità foro (cieco) Diametro lamatura e profondità Foro svasato Diametro e profondità foro (cieco) Diametro svasatura e angolo Funzione Esempio e tipo di quota Foro semplice Diametro e profondità (se cieco) oppure designazione della filettatura e profondità (se cieco) Intaglio Lunghezza, larghezza e profondità foro (cieco) Specificare il tipo di quota nella finestra di dialogo Opzioni DimXpert. Larghezza Larghezza Funzione Esempio e tipo di quota Sfera Argomento principaleQuota dimensione DimXpert Uso di Quota dimensione DimXpert