예제: 오프셋이 있는 단면도

이러한 예제는 절단선에 대한 오프셋을 추가하는 방법을 설명한 것입니다.

호 오프셋

  1. 가로 절단선 Cutting-line-Horizontal.png을 찾습니다.
    section-arc-offset-1.gif
  2. 호 오프셋 sectionxpert-arc-offset.png을 추가합니다.
    section-arc-offset-2.gif section-arc-offset-3.gif

    호 오프셋을 시작하는 절단선 위의 첫 번째 점

    오프셋 각도를 설정하는 절단선 위의 두 번째 점

  3. 최종 단면도
    section-arc-offset-complete.gif

단일 오프셋

  1. 세로 절단선 Cutting-line-Vertical.png을 찾습니다.
    section-single-offset-1-U.gif
  2. 단일 오프셋 sectionxpert-single-offset.png을 추가합니다.
    section-single-offset-2-U.gif section-single-offset-3-U.gif

    단일 오프셋을 시작하는 절단선 위의 첫 번째 점

    오프셋 깊이를 설정하는 절단선 위의 두 번째 점

  3. 최종 단면도
    section-single-offset-complete-U.gif

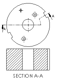
노치 오프셋

  1. 가로 절단선 Cutting-line-Horizontal.png을 찾습니다.
    section-notch-offset-1.gif
  2. 노치 오프셋 sectionxpert-notch-offset.png을 추가합니다.
    section-notch-offset-2.gif section-notch-offset-3.gif

    노치 오프셋을 시작하는 절단선 위의 첫 번째 점

    오프셋 길이를 설정하는 절단선 위의 두 번째 점

    section-notch-offset-4.gif  

    오프셋 깊이를 설정하는 절단선 위의 세 번째 점

     
  3. 최종 단면도
    section-notch-offset-complete.gif