DimXpert 데이텀
도구를 사용하여 데이텀 피처를 정의할 수 있습니다.
이 도구에 액세스하는 방법
데이텀
(MBD 치수 도구 모음) 또는 을 클릭합니다.
이 도구가 지원하는 피처 유형:
대부분의 DimXpert 데이텀 피처 PropertyManager 옵션은 DimXpert가 아닌 데이텀 피처 PropertyManager 옵션과 같습니다. 차이점이 아래에 나와 있습니다.
라벨 설정
데이텀을 적용하거나 편집할 때, 데이텀
라벨을 입력하고 지시선 유형을 지정합니다.
아래에서 시작 라벨을 지정합니다.
데이텀 라벨을 입력할 때, 활성 도면 규격에 맞게 입력 구문이 검사됩니다. 예:
- 숫자를 입력하면 모든 도면 규격에 경고 메시지가 표시됩니다.
- ANSI에 I, O 또는 Q를 입력하면 경고 메시지가 표시됩니다.
- ISO에 AA를 입력하면 경고 메시지가 표시됩니다.
지시선
 |
곡면 |
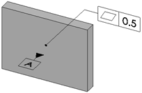
데이텀 삼각형을 피처 곡면에 첨부합니다.

|
 |
유도된 지시선 |
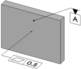
데이텀 삼각형을 유도된 지시선에 첨부합니다.

|
 |
치수 |
데이텀 삼각형을 치수나 피처 제어 프레임에 첨부합니다.


|
 |
기하 공차 |
데이텀 삼각형을 피쳐 제어 프레임에 첨부합니다.

|