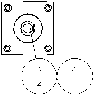
Propriétés du document - Bulles Vous pouvez spécifier des paramètres d'habillage pour les annotations de bulles au niveau du document. Ces paramètres peuvent être écrasés dans le PropertyManager. Disponible pour tous types de document. Pour ouvrir cette page : Avec une mise en plan ouverte, cliquez sur Options (barre d'outils Standard), sélectionnez l'onglet Propriétés du document, puis Annotations > Bulles. Norme d'habillage générale Norme d'habillage générale Héritée des paramètres de la page Norme d'habillage. Norme des bulles de base Norme des bulles de base Sélectionnez une norme : ANSI ISO DIN JIS BSI GOST GB Style de la ligne d'attache Style de la ligne d'attache Sélectionnez : un style. Epaisseur de la ligne d'attache Sélectionnez : une épaisseur ou sélectionnez Taille personnalisée et entrez une épaisseur. Style de contour Style de contour Définit le style pour la forme entourant le texte. Epaisseur de contour Sélectionnez : une épaisseur ou sélectionnez Taille personnalisée et entrez une épaisseur. Texte Police Cliquez pour modifier la police. En haut Pour la partie supérieure des bulles à ligne de séparation circulaire ou pour tous les autres types de bulles, sélectionnez : Texte Numéro d'article Quantité Propriétés personnalisées En haut s'applique aux bulles simples et empilées. En bas Pour la partie inférieure des bulles à ligne de séparation circulaire, sélectionnez : Texte Numéro d'article Grandeur Propriétés personnalisées Affichage des lignes d'attache Affichage des lignes d'attache Sélectionnez l'une des options suivantes : Cassure droite Brisée. Insère une brisure horizontale dans la ligne d'attache qui est alignée au texte. Sélectionnez selon les cas : Utiliser la longueur de la ligne d'attache du document. La longueur de la ligne d'attache est dérivée des paramètres de la page Annotations. Longueur de la ligne d'attache. Vous permet de saisir la longueur de la portion non brisée de la ligne d'attache. Spline VDA Calque Calque Sélectionnez un calque. Vous devez d'abord créer des calques pour la mise en plan avant de pouvoir les sélectionner comme propriétés de document. Vous devez sélectionner Selon la norme sous Calque (barre d'outils Calque) dans le document de vue de mise en plan pour appliquer ces paramètres de calque. Bulle unique Style Sélectionnez Aucun pour afficher le texte de bulle sans bordure ou sélectionnez une forme de bulle. La valeur par défaut est Cercle Cercle Triangle Hexagone Case Losange Pentagone Ligne de séparation circulaire Drapeau - Cinq côtés Drapeau - Triangle Souligner Carré Cercle encadré Inspection Aucun Taille Sélectionnez une taille (un nombre spécifique de caractères), Au mieux (s'ajuste automatiquement au texte) ou Taille personnalisée (vous définissez la taille de la bulle). Bulles empilées Style Sélectionnez une forme de bulle. Taille Sélectionnez une taille (un nombre spécifique de caractères), Au mieux (s'ajuste automatiquement au texte) ou Taille personnalisée (définissez la taille de la bulle). Présentation des bulles automatiques Sélectionnez une représentation schématique : Carré Bas Gauche Circulaire Haut Droite Présentation en carré Sujet parentPropriétés du document - Annotations Propriétés du document - Etiquette de localisation Propriétés du document - Références Propriétés du document - Tolérances géométriques Propriétés du document - Notes Propriétés du document - Tables de révisions Propriétés du document - Etats de surface Propriétés du document - Symboles de soudure Couches Bulles