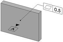
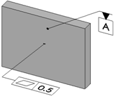
Referenciais do DimXpert Use a ferramenta Referenciais do DimXpert para definir recursos referenciais. Para acessar esta ferramenta: Clique em Referencial (barra de ferramentas MBD Dimension) ou em Ferramentas > MBD Dimension > Referencial. Essa ferramenta tem suporte para os seguintes tipos de recurso: Ressalto Cilindro Entalhe Plano Furo simples Fenda Largura A maioria das opções do PropertyManager de Recurso referencial do DimXpert é idêntica às do PropertyManager de Recurso referencial que não é do DimXpert. As diferenças são descritas abaixo. Configurações de etiqueta Quando aplicar ou editar um referencial, insira uma etiqueta de referencial e atribua um tipo de linha de chamada. Especifique a etiqueta inicial em Ferramentas > Opções > Propriedades do documento > Padrões de desenho > Anotações > Referenciais . Quando você insere etiquetas de referencial, a sintaxe das entradas é verificada segundo o padrão de desenho ativo. Por exemplo: Inserir um número gera uma mensagem de advertência para todas as normas. Inserir um I, O ou Q gera uma mensagem de advertência quando em ANSI. Inserir AA gera uma mensagem de advertência quando em ISO. Linha de chamada Superfície Anexa o triângulo referencial a uma superfície do recurso. Linha de chamada dirigida Anexa o triângulo referencial a uma linha de chamada dirigida. Dimensão Anexa o triângulo referencial a uma dimensão ou estrutura de controle de recurso. Gtol Anexa o triângulo referencial a uma estrutura de controle do recurso. Exemplos de referenciais por recurso Ressalto Cilindro Entalhe Plano Furo simples Fenda Largura Tópico paiFerramentas DimXpert PropertyManager de Recurso referencial Aplicar um símbolo de recurso de referência primária Para aplicar um símbolo de recurso referencial: Clique em Referencial (barra de ferramentas MBD Dimension) ou em Ferramentas > MBD Dimension > Referencial. Selecione a face do recurso referencial e clique na área de gráficos para inserir a o símbolo de recurso referencial Se a face selecionada puder ser usada para definir mais de um tipo de recurso, use o seletor de recursos para escolher o recurso necessário. Clique em .
Referenciais do DimXpert Use a ferramenta Referenciais do DimXpert para definir recursos referenciais. Para acessar esta ferramenta: Clique em Referencial (barra de ferramentas MBD Dimension) ou em Ferramentas > MBD Dimension > Referencial. Essa ferramenta tem suporte para os seguintes tipos de recurso: Ressalto Cilindro Entalhe Plano Furo simples Fenda Largura A maioria das opções do PropertyManager de Recurso referencial do DimXpert é idêntica às do PropertyManager de Recurso referencial que não é do DimXpert. As diferenças são descritas abaixo. Configurações de etiqueta Quando aplicar ou editar um referencial, insira uma etiqueta de referencial e atribua um tipo de linha de chamada. Especifique a etiqueta inicial em Ferramentas > Opções > Propriedades do documento > Padrões de desenho > Anotações > Referenciais . Quando você insere etiquetas de referencial, a sintaxe das entradas é verificada segundo o padrão de desenho ativo. Por exemplo: Inserir um número gera uma mensagem de advertência para todas as normas. Inserir um I, O ou Q gera uma mensagem de advertência quando em ANSI. Inserir AA gera uma mensagem de advertência quando em ISO. Linha de chamada Superfície Anexa o triângulo referencial a uma superfície do recurso. Linha de chamada dirigida Anexa o triângulo referencial a uma linha de chamada dirigida. Dimensão Anexa o triângulo referencial a uma dimensão ou estrutura de controle de recurso. Gtol Anexa o triângulo referencial a uma estrutura de controle do recurso. Exemplos de referenciais por recurso Ressalto Cilindro Entalhe Plano Furo simples Fenda Largura Tópico paiFerramentas DimXpert PropertyManager de Recurso referencial Aplicar um símbolo de recurso de referência primária Para aplicar um símbolo de recurso referencial: Clique em Referencial (barra de ferramentas MBD Dimension) ou em Ferramentas > MBD Dimension > Referencial. Selecione a face do recurso referencial e clique na área de gráficos para inserir a o símbolo de recurso referencial Se a face selecionada puder ser usada para definir mais de um tipo de recurso, use o seletor de recursos para escolher o recurso necessário. Clique em .
Aplicar um símbolo de recurso de referência primária Para aplicar um símbolo de recurso referencial: Clique em Referencial (barra de ferramentas MBD Dimension) ou em Ferramentas > MBD Dimension > Referencial. Selecione a face do recurso referencial e clique na área de gráficos para inserir a o símbolo de recurso referencial Se a face selecionada puder ser usada para definir mais de um tipo de recurso, use o seletor de recursos para escolher o recurso necessário. Clique em .