Установка параметров указателей центра

Чтобы указать параметры для указателей центра:

  1. Выберите Параметры Tool_Options_Standard.gif и Осевые линии/Указатели центра на вкладке Свойства документа.
  2. В разделе Указатели центра:
    1. Ввыдите значение для Размер. Размер контролирует длину, на которую указатель центра продлен за кромку модели, и размер символа в центре.
      cline_cmark_size.gif
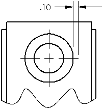
    2. Введите значение для параметра Зазор. Параметр Зазор определяет расстояние между указателем центра и выносной линией. Параметр Зазор становится доступен после отмены выбора параметра Использовать масштаб вида.

    3. Выберите или снимите флажки Использовать масштаб вида, Удлиненные линии и Шрифт осевой линии.
  3. В поле Указатели центра прорези выберите Выровнять по прорези или Выровнять по листу и выберите параметр расположения указателя центра прорези. Эти настройки определяют способ создания изогнутых и прямых прорезей.
  4. Выберите параметр Оформление на вкладке Свойства документа. В окне Авто вставить при создании вида выберите или снимите флажок для следующих элементов:
    • Указатели центра-отверстия-детали
    • Указатели центра-скругления-детали
    • Указатели центра-прорези-детали
    • Указатели центра-отверстия-сборки
    • Указатели центра-скругления-сборки
    • Указатели центра-прорези-сборки
    При выборе указатели центра будут автоматически вставляться во все соответствующие окружности, дуги или скругления в новых чертежных видах.
  5. Нажмите OK.