Примеры: Разрез со смещением

В следующих примерах рассмотрена процедура добавления смещений к линии сечения.

Смещение дуги

  1. Найдите горизонтальную линию сечения Cutting-line-Horizontal.png.
    section-arc-offset-1.gif
  2. Добавьте смещение дуги sectionxpert-arc-offset.png.
    section-arc-offset-2.gif section-arc-offset-3.gif

    Первая точка на линии сечения для начала смещения дуги

    Вторая точка на геометрии для установки угла смещения

  3. Окончательный разрез
    section-arc-offset-complete.gif

Единичное смещение

  1. Найдите вертикальную линию сечения Cutting-line-Vertical.png.
    section-single-offset-1-U.gif
  2. Добавьте одиночное смещение sectionxpert-single-offset.png.
    section-single-offset-2-U.gif section-single-offset-3-U.gif

    Первая точка на линии сечения для начала одиночного смещения

    Вторая точка на геометрии для установки глубины смещения

  3. Окончательный разрез
    section-single-offset-complete-U.gif

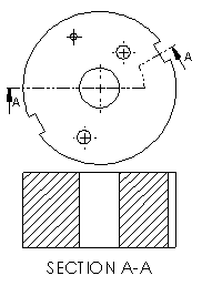
Смещение канавки

  1. Найдите горизонтальную линию сечения Cutting-line-Horizontal.png.
    section-notch-offset-1.gif
  2. Добавьте смещение канавки sectionxpert-notch-offset.png.
    section-notch-offset-2.gif section-notch-offset-3.gif

    Первая точка на линии сечения для начала смещения канавки

    Вторая точка на линии сечения для установки длины смещения

    section-notch-offset-4.gif  

    Третья точка на геометрии для установки глубины смещения

     
  3. Окончательный разрез
    section-notch-offset-complete.gif