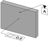
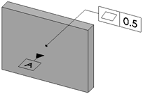
База DimXpert Можно использовать инструмент DimXpert База для определения элементов базы. Чтобы открыть этот инструмент: Нажмите База (панель инструментов MBD Dimension) или выберите Инструменты > MBD Dimension > База. Инструмент поддерживает следующие элементы: Бобышка Цилиндр Канавка Плоскость Простое отверстие Прорезь Ширина Большинство параметров в окне Базовая поверхность PropertyManager в DimXpert аналогичны параметрам в окне Базовая поверхность PropertyManager, не принадлежащем DimXpert. Их различия перечислены ниже. Настройки метки При применении или редактировании базы введите Метка базы и назначьте тип выноски. Укажите начальную метку в разделе Инструменты > Параметры > Свойства документа > Чертежный стандарт > Примечания > Базы . При вводе меток базы проверяется синтаксис введенных значений для стандарта активного чертежа. Например: Ввод цифры приводит к появлению предупреждающего сообщения для всех стандартов. При вводе I, O или Q появляется предупреждающее сообщение (в стандарте ANSI). Ввод AA приводит к появлению предупреждающего сообщения для стандарта ISO. Выноски Поверхность Прикрепление треугольника к поверхности элемента. Выноска с направлением Прикрепление треугольника к выноске с направлением. Размеры Прикрепление треугольника к размеру или рамке управления элементом. Геометрические допуски Прикрепление треугольника к рамке управления элементом. Примеры элементов базы Бобышка Цилиндр Канавка Плоскость Простое отверстие Прорезь Ширина На уровень вышеИнструменты DimXpert PropertyManager Базовая поверхность Применение обозначения базовой поверхности Чтобы вставить обозначение базы: Нажмите База (панель инструментов MBD Dimension) или выберите Инструменты > MBD Dimension > База. Выберите грань для базового элемента и нажмите в графической области, чтобы разместить обозначение базы. Если выбранную грань можно использовать для определения нескольких элементов, для выбора необходимого элемента используйте панель выбора элементов. Нажмите .
База DimXpert Можно использовать инструмент DimXpert База для определения элементов базы. Чтобы открыть этот инструмент: Нажмите База (панель инструментов MBD Dimension) или выберите Инструменты > MBD Dimension > База. Инструмент поддерживает следующие элементы: Бобышка Цилиндр Канавка Плоскость Простое отверстие Прорезь Ширина Большинство параметров в окне Базовая поверхность PropertyManager в DimXpert аналогичны параметрам в окне Базовая поверхность PropertyManager, не принадлежащем DimXpert. Их различия перечислены ниже. Настройки метки При применении или редактировании базы введите Метка базы и назначьте тип выноски. Укажите начальную метку в разделе Инструменты > Параметры > Свойства документа > Чертежный стандарт > Примечания > Базы . При вводе меток базы проверяется синтаксис введенных значений для стандарта активного чертежа. Например: Ввод цифры приводит к появлению предупреждающего сообщения для всех стандартов. При вводе I, O или Q появляется предупреждающее сообщение (в стандарте ANSI). Ввод AA приводит к появлению предупреждающего сообщения для стандарта ISO. Выноски Поверхность Прикрепление треугольника к поверхности элемента. Выноска с направлением Прикрепление треугольника к выноске с направлением. Размеры Прикрепление треугольника к размеру или рамке управления элементом. Геометрические допуски Прикрепление треугольника к рамке управления элементом. Примеры элементов базы Бобышка Цилиндр Канавка Плоскость Простое отверстие Прорезь Ширина На уровень вышеИнструменты DimXpert PropertyManager Базовая поверхность Применение обозначения базовой поверхности Чтобы вставить обозначение базы: Нажмите База (панель инструментов MBD Dimension) или выберите Инструменты > MBD Dimension > База. Выберите грань для базового элемента и нажмите в графической области, чтобы разместить обозначение базы. Если выбранную грань можно использовать для определения нескольких элементов, для выбора необходимого элемента используйте панель выбора элементов. Нажмите .
Применение обозначения базовой поверхности Чтобы вставить обозначение базы: Нажмите База (панель инструментов MBD Dimension) или выберите Инструменты > MBD Dimension > База. Выберите грань для базового элемента и нажмите в графической области, чтобы разместить обозначение базы. Если выбранную грань можно использовать для определения нескольких элементов, для выбора необходимого элемента используйте панель выбора элементов. Нажмите .