Configuración de opciones de centros de círculos

Para configurar opciones de centros de círculos:

  1. Haga clic en Opciones Tool_Options_Standard.gif y seleccione Líneas constructivas/Centros de círculos en la pestaña Propiedades de documento.
  2. En Centros de círculos:
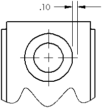
    1. Introduzca un valor para Tamaño. Tamaño controla la longitud de extensión del centro de círculo más allá de la arista del modelo, así como el tamaño del símbolo de punto en el centro.
      cline_cmark_size.gif
    2. Introduzca un valor para Separación. Separación controla la distancia entre el centro de círculo y la línea de extensión. Separación está disponible cuando se desactiva Ajustar la escala por escala de vista.

    3. Seleccione o desactive las casillas de verificación para Ajustar la escala por escala de vista, Líneas extendidas y Fuente de línea constructiva.
  3. En Centros de círculo de ranura, seleccione Orientar a ranura u Orientar a hoja y elija una opción para colocar el centro de círculo de ranura. Estos parámetros determinan la creación de ranuras rectas y curvas.
  4. Seleccione Documentación en la pestaña Propiedades de documento. En Insertar automáticamente al crear vista, active o desactive la casilla para:
    • Centros de círculos-taladros -pieza
    • Centros de círculos-redondeos -pieza
    • Centros de círculos-ranuras -pieza
    • Centros de círculos-taladros-ensamblaje
    • Centros de círculos-redondeos-ensamblaje
    • Centros de círculos-ranuras-ensamblaje
    Si se activa esta casilla, los centros de círculos se insertan automáticamente en todos los círculos, arcos y redondeos adecuados de las nuevas vistas de dibujo.
  5. Haga clic en Aceptar.