Ejemplos: Vista de sección con equidistancia

Estos ejemplos ilustran la adición de equidistancias a una línea de corte.

Equidistancia de arco

  1. Localice una línea de corte horizontal Cutting-line-Horizontal.png.
    section-arc-offset-1.gif
  2. Agregue una equidistancia de arco sectionxpert-arc-offset.png.
    section-arc-offset-2.gif section-arc-offset-3.gif

    Primer punto en la línea de corte para iniciar la equidistancia de arco

    Segundo punto en la geometría para establecer el ángulo de la equidistancia

  3. Vista de sección final
    section-arc-offset-complete.gif

Equidistancia única

  1. Localice una línea de corte vertical Cutting-line-Vertical.png.
    section-single-offset-1-U.gif
  2. Agregue una equidistancia única sectionxpert-single-offset.png.
    section-single-offset-2-U.gif section-single-offset-3-U.gif

    Primer punto en la línea de corte para iniciar la equidistancia de única

    Segundo punto en la geometría para establecer la profundidad de la equidistancia

  3. Vista de sección final
    section-single-offset-complete-U.gif

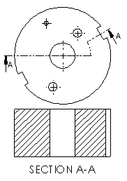
Equidistancia de muesca

  1. Localice una línea de corte horizontal Cutting-line-Horizontal.png.
    section-notch-offset-1.gif
  2. Agregue una equidistancia de muesca sectionxpert-notch-offset.png.
    section-notch-offset-2.gif section-notch-offset-3.gif

    Primer punto en la línea de corte para iniciar la equidistancia de muesca

    Segundo punto en la línea de corte para establecer la longitud de la equidistancia

    section-notch-offset-4.gif  

    Tercer punto en la geometría para establecer la profundidad de la equidistancia

     
  3. Vista de sección final
    section-notch-offset-complete.gif