Tablas de cálculo de pliegue

Puede calcular la longitud desarrollada de piezas chapa metálica mediante las tablas de cálculo de pliegue.

Con las tablas de cálculo de pliegue, puede definir diferentes intervalos angulares, asignar ecuaciones a dichos intervalos y calcular la longitud desarrollada de la pieza.

La ubicación predeterminada de las tablas de cálculo de pliegue es directorio_de_instalación\lang\spanish\Sheetmetal Bend Tables.

Ejemplo de una tabla de cálculo de pliegue:

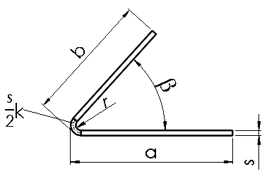
Columna A Muestra las variables utilizadas en ecuaciones:
  • s = espesor de material
  • r = radio de pliegue
  • factor-k = factor-k (ouede utilizar una ecuación o un valor)
  • ß = ángulo de apertura
Intervalo angular Permite definir los intervalos angulares. El intervalo angular define los distintos intervalos que deben utilizarse para determinados cálculos.
  • Defina el valor angular más pequeño de un intervalo a la izquierda de ß
  • ß = variable de ángulo
  • Defina el valor angular más grande de un intervalo a la derecha de ß
Ecuación Permite definir una ecuación para utilizarla en el intervalo angular. También puede utilizar un valor constante.
Utilizar longitud de tangencia Permite determinar el método para calcular bridas: intersección virtual o longitud de tangencia.

La ecuación que calcula la longitud desarrollada es: LD = A + B + V, donde V puede ser un valor negativo. Cuando V es negativo, el resultado es igual que utilizar deducción de pliegue, si bien la ecuación es para fibra neutra de pliegue.

Ejemplos de cálculo de pliegue

Intervalo angular Ejemplo.
0 <= ß <= 90 Longitud de tangente = Sí

90 < ß <= 165 Longitud de tangente = No

165 < ß <= 180 Longitud de tangente = No