Referencia de DimXpert

Puede utilizar la herramienta Referencia de DimXpert para definir indicaciones de referencia.

Para tener acceso a esta herramienta:

Haga clic en Referencia (barra de herramientas Cota MBD) o Herramientas > Cota MBD > Referencia.

La herramienta admite estos tipos de indicaciones:

  • Saliente
  • Cilindro
  • Muesca
  • Plano
  • Taladro sencillo
  • Ranura
  • Ancho

La mayoría de las opciones del PropertyManager Indicación de referencia de DimXpert son las mismas que las del PropertyManager Indicación de referencia no perteneciente a DimXpert. Las diferencias se enumeran a continuación.

Configuración de etiqueta

Al aplicar o editar una referencia, introduzca una Etiqueta de referencia y asigne un tipo de línea indicativa.

Especifique la etiqueta inicial en Herramientas > Opciones > Propiedades de documento > Estándar de dibujo > Anotaciones > Referencias .

Al introducir etiquetas de referencia, se comprueba la sintaxis en las entradas según el estándar de dibujo activo. Por ejemplo:

  • La especificación de un valor numérico genera un mensaje de advertencia para todos los estándares.
  • La especificación de I, O o Q genera un mensaje de advertencia en el estándar ANSI.
  • La especificación de AA genera un mensaje de advertencia en el estándar ISO.

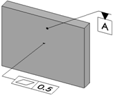
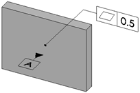
Líneas indicativas

Superficie Une el triángulo de referencia a la superficie de una operación.

Línea indicativa dirigida Une el triángulo de referencia a la línea indicativa dirigida.

Cota Une el triángulo de referencia a una cota o marco de control de operación.



TolG Une el triángulo de referencia al marco de control de una operación.

Ejemplos de referencias por operación

Saliente
Cilindro
Muesca
Plano
Taladro sencillo

Ranura
Ancho