Puede calcular la longitud desarrollada de piezas chapa metálica mediante las tablas de cálculo de pliegue.
Con las tablas de cálculo de pliegue, puede definir diferentes intervalos angulares, asignar ecuaciones a dichos intervalos y calcular la longitud desarrollada de la pieza.
La ubicación predeterminada de las tablas de cálculo de pliegue es
directorio_de_instalación\lang\spanish\Sheetmetal Bend Tables.
Ejemplo de una tabla de cálculo de pliegue:
 |
Columna A |
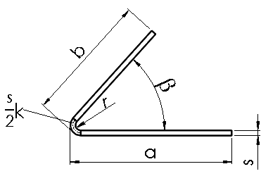
Muestra las variables utilizadas en ecuaciones: - s = espesor de material
- r = radio de pliegue
- factor-k = factor-k (ouede utilizar una ecuación o un valor)
- ß = ángulo de apertura
|
Intervalo angular |
Permite definir los intervalos angulares. El intervalo angular define los distintos intervalos que deben utilizarse para determinados cálculos. - Defina el valor angular más pequeño de un intervalo a la izquierda de ß
- ß = variable de ángulo
- Defina el valor angular más grande de un intervalo a la derecha de ß
|
Ecuación |
Permite definir una ecuación para utilizarla en el intervalo angular. También puede utilizar un valor constante. |
Utilizar longitud de tangencia |
Permite determinar el método para calcular bridas: intersección virtual o longitud de tangencia. La ecuación que calcula la longitud desarrollada es: LD = A + B + V, donde V puede ser un valor negativo. Cuando V es negativo, el resultado es igual que utilizar deducción de pliegue, si bien la ecuación es para fibra neutra de pliegue.
|
Ejemplos de cálculo de pliegue
Intervalo angular |
Ejemplo. |
0 <= ß <= 90 |
Longitud de tangente = Sí 
|
90 < ß <= 165 |
Longitud de tangente = No 
|
165 < ß <= 180 |
Longitud de tangente = No 
|