Opção Tolerâncias de orientação
A opção Tolerâncias de orientação permite ao TolAnalyst considerar as tolerâncias que controlam explicitamente a orientação do recurso. Quando combinada com a opção Componentes de fixação e pinos flutuantes, a opção Tolerâncias de orientação permite ao TolAnalyst usar as folgas entre os recursos para girar peças até suas condições de pior cenário.
Tolerâncias com suporte:
A opção Tolerâncias de orientação não considera as seguintes tolerâncias que controlam implicitamente a orientação do recurso: posição, perfil de superfície e dimensões lineares definidas com o uso da ferramenta Dimensão do local
.
Exemplo 1
|
Usando essa montagem, crie um estudo para avaliar a distância entre a base do suporte em L e a placa superior. |

|
|
|
|
|
A dimensão 106 indica a distância sendo avaliada. |

|
|
|
|
|
Aplique as tolerâncias exibidas para o suporte em L. |

|
|
|
|
|
Com a opção Tolerâncias de orientação desmarcada, os resultados terão um mínimo de 103,5 e um máximo de 108,5. |

|
|
|
|
|
Com a opção Tolerâncias de orientação selecionada, os resultados terão um mínimo de 98 e um máximo de 114.
Quando o TolAnalyst considera a tolerância de paralelismo 1, o recurso também precisa permanecer dentro dos limites 125 +/- 2.
|

|
Exemplo 2
|
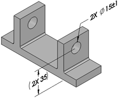
Usando essa montagem, crie um estudo para avaliar a distância entre a base e o eixo, como mostrado pela dimensão 35. |

|
|
|
|
|
Aplique a tolerância de tamanho mostrada nos dois furos na base. |

|
|
|
|
|
Aplique o tamanho de tolerância mostrado para o diâmetro do eixo. |

|
|
|
|
|
Com Componentes de fixação e pinos flutuantes marcada e Tolerâncias de orientação desmarcada, os resultados são o valor mínimo 33 e o valor máximo 37 (mostrados). Observe como o eixo é empurrado contra a parte superior dos furos. |

|
|
|
|
|
Com Componentes de fixação e pinos flutuantes e Tolerâncias de orientação marcadas, os resultados são o valor mínimo 32 e o valor máximo 38 (mostrados). Observe como o eixo é girado de forma que contém a aresta superior externa do furo esquerdo e a aresta inferior externa do furo direito. |

|