Expand IntroduçãoIntrodução
Expand AdministraçãoAdministração
Expand Interface do usuárioInterface do usuário
Expand Fundamentos do SolidWorksFundamentos do SolidWorks
Expand Mudando de 2D para 3DMudando de 2D para 3D
Expand MontagensMontagens
Expand CircuitWorksCircuitWorks
Expand ConfiguraçõesConfigurações
Expand SolidWorks CostingSolidWorks Costing
Expand Design CheckerDesign Checker
Expand Estudos de Projeto no SolidWorksEstudos de Projeto no SolidWorks
Collapse Desenhos e detalhamentoDesenhos e detalhamento
Expand DFMXpressDFMXpress
Expand DriveWorksXpressDriveWorksXpress
Expand FloXpressFloXpress
Expand Importar e exportarImportar e exportar
Expand Projeto em grande escalaProjeto em grande escala
Expand Exibição de modeloExibição de modelo
Expand Projeto de moldesProjeto de moldes
Expand Estudos de movimentoEstudos de movimento
Expand Peças e recursosPeças e recursos
Expand RotaRota
Expand Chapa metálicaChapa metálica
Expand SimulaçãoSimulação
Expand SimulationXpressSimulationXpress
Expand Criação de esboçosCriação de esboços
Expand Produtos SustainabilityProdutos Sustainability
Expand SolidWorks UtilitiesSolidWorks Utilities
Expand TolerânciasTolerâncias
Expand ToolboxToolbox
Expand SoldagensSoldagens
Expand Workgroup PDMWorkgroup PDM
Expand Solução de problemasSolução de problemas
Expand GlossárioGlossário
Ocultar Sumário

Configurar opções para marcas de centro

Para definir as opções para marcas de centro:

  1. Clique em Opções Tool_Options_Standard.gif e selecione Linhas/Marcas de centro na guia Propriedades do documento.
  2. Em Marcas de centro:
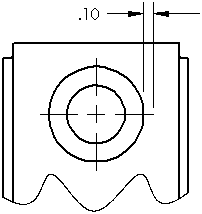
    1. Digite um valor em Tamanho. Tamanho controla o comprimento da extensão da marca de centro além da aresta do modelo e o tamanho do símbolo de ponto no centro.
      cline_cmark_size.gif
    2. Marque ou desmarque as caixas Linhas estendidas e Fonte da linha de centro.
  3. Em Marcas de centro de ranhura selecione Orientar para ranhura ou Orientar para folha e escolha uma opção de local de marca de centro de ranhura. Essas opções determinam como são criadas ranhuras retas e curvas.
  4. Selecione Detalhamento na guia Propriedades do documento. Em Inserir automaticamente na criação da vista, marque ou desmarque a caixa de seleção de:
    • Marcas de centro - furos -peça
    • Marcas de centro - filetes -peça
    • Marcas de centro - ranhuras -peça
    • Marcas de centro - furos -montagem
    • Marcas de centro - filetes -montagem
    • Marcas de centro - ranhuras -montagem

    Quando selecionado, marcas de centro são inseridas automaticamente em todos os círculos, arcos e filetes apropriados nas novas vistas de desenho.

  5. Clique em OK.


Envie-nos seus comentários sobre este tópico

O SOLIDWORKS agradece seu feedback sobre a apresentação, precisão e nível de detalhe da documentação. Use o formulário abaixo para enviar comentários e sugestões sobre este tópico diretamente à equipe responsável pela documentação. Esta equipe não responde a perguntas de suporte técnico. Clique aqui para ver informações específicas do suporte técnico.

* Obrigatório

 
*E-mail:  
Assunto:   Comentários sobre os tópicos da Ajuda
Página:   Configurar opções para marcas de centro
*Comentário:  
*   Eu reconheço que li e aceito, por meio deste, a política de privacidade segundo a qual meus Dados pessoais serão usados pela Dassault Systèmes

Imprimir tópico

Selecione o escopo do conteúdo a imprimir:

x

Foi detectada uma versão de navegador anterior ao Internet Explorer 7. Para uma exibição otimizada, sugerimos a atualização para o Internet Explorer 7 ou posterior.

 Não mostrar essa mensagem novamente
x

Versão do conteúdo de ajuda on-line: SOLIDWORKS 2012 SP05

Para desativar a Ajuda online no SOLIDWORKS e usar a Ajuda local, clique em Ajuda > Usar Ajuda on-line do SOLIDWORKS.

Para relatar problemas encontrados na interface e na pesquisa da Ajuda on-line, consulte seu representante de suporte local. Para fornecer comentários sobre tópicos individuais da Ajuda, use o link “Comentários sobre este tópico” na página do tópico individual.