Przenoszenie i kopiowanie wymiarów
Gdy wymiary zostaną wyświetlone na rysunku, można je przenosić w ramach tego samego widoku lub do innego widoku. Podczas przeciągania wymiaru z jednego miejsca w drugie, wymiar przytwierdza się odpowiednio do modelu. Wymiary można tylko przenosić lub kopiować do widoku, w którym orientacja jest właściwa dla danego wymiaru.
|
|
-
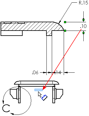
Aby przełączać wymiary do innej operacji o tym samym rozmiarze w obrębie widoku, należy wybrać wymiar i przeciągnąć i upuścić uchwyt ostrza strzałki na innej krawędzi. Metoda ta działa tylko dla wymiarów promienia, średnicy i sfazowania.
|

|
-
Aby przenieść wymiary z jednego widoku do innego widoku, należy przytrzymać klawisz Shift podczas przeciągania wymiarów do innego widoku.
-
Aby skopiować wymiary z jednego widoku do innego widoku, należy przytrzymać klawisz Ctrl podczas przeciągania wymiarów do innego widoku. Należy użyć tej metody, aby utworzyć wiele wymiarów sterujących.
|

|
|
|
|

|
Tematy pokrewne