Expand ВведениеВведение
Expand АдминистрацияАдминистрация
Expand Интерфейс пользователяИнтерфейс пользователя
Collapse Основные принципы SolidWorksОсновные принципы SolidWorks
Основные понятия
Базовые команды: Вырезать, копировать, вставить, отменить и повтор
Expand Справка, поиск и веб-ресурсыСправка, поиск и веб-ресурсы
Expand Основные действия с документамиОсновные действия с документами
Collapse Параметры SolidWorksПараметры SolidWorks
Доступ к диалоговому окну Параметры
Expand Настройки пользователяНастройки пользователя
Collapse Свойства документаСвойства документа
Свойства документа – Чертежный стандарт
Collapse Свойства документа - ПримечанияСвойства документа - Примечания
Expand Свойства документа - РазмерыСвойства документа - Размеры
Свойства документа - Осевые линии/указатели центра
Параметры DimXpert - Чертежи
Свойства документа - Виртуальная резкость отображения
Expand Свойства документа – ТаблицыСвойства документа – Таблицы
Expand Свойства документа - метки видаСвойства документа - метки вида
Свойства документа - Оформление
Свойства документа - Масштабная сетка/Привязать
Свойства документа - Единицы изменения
Свойства документа - Тип линии
Свойства документа - Стиль линии
Свойства документа - Толщина линии
Свойства документа - Отображение модели
Свойства документа - Свойства материалов
Свойства документа - Свойства изображения
Свойства документа - Листовой металл
Свойства документа - Отображение плоскости
Expand Свойства документа - DimXpertСвойства документа - DimXpert
Expand ОтобразитьОтобразить
Expand ВыборВыбор
Expand Свойства файлаСвойства файла
Expand Инструмент измеренияИнструмент измерения
Expand ДатчикиДатчики
Expand УравненияУравнения
Expand Инструменты проектирования для разных индустрийИнструменты проектирования для разных индустрий
Обзор Xperts
Приложения
Быстрый запуск SolidWorks
Expand Связь и внедрение объектовСвязь и внедрение объектов
Expand Запись и выполнение макросаЗапись и выполнение макроса
Expand Взаимодействие с предыдущими выпусками Взаимодействие с предыдущими выпусками
Интерфейс программирования приложений (API) SolidWorks
SolidWorks Task Scheduler
Expand Переход из  2D в 3DПереход из 2D в 3D
Expand СборкиСборки
Expand CircuitWorksCircuitWorks
Expand КонфигурацииКонфигурации
Expand SolidWorks CostingSolidWorks Costing
Expand Design CheckerDesign Checker
Expand Исследования проектирования в SolidWorksИсследования проектирования в SolidWorks
Expand Чертежи и оформлениеЧертежи и оформление
Expand DFMXpressDFMXpress
Expand DriveWorksXpressDriveWorksXpress
Expand FloXpressFloXpress
Expand Импорт и экспортИмпорт и экспорт
Expand Отображение моделиОтображение модели
Expand Проектирование литейной формыПроектирование литейной формы
Expand Исследования движенияИсследования движения
Expand Детали и элементыДетали и элементы
Expand МаршрутМаршрут
Expand Листовой металлЛистовой металл
Expand SimulationSimulation
Expand SimulationXpressSimulationXpress
Expand Создание эскизаСоздание эскиза
Expand Продукты Sustainability Продукты Sustainability
Expand SolidWorks UtilitiesSolidWorks Utilities
Expand ОтклоненияОтклонения
Expand TolAnalystTolAnalyst
Expand ToolboxToolbox
Expand Сварные деталиСварные детали
Expand Workgroup PDMWorkgroup PDM
Expand Устранение неполадокУстранение неполадок
Глоссарий
Скрыть содержание

Свойства документа - Позиции

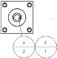
На уровне документа можно задать параметры черчения для позиций. Можно изменить эти настройки в окне PropertyManager. Доступно для документов всех типов.

Чтобы открыть эту страницу, откройте чертеж, нажмите Параметры (панель инструментов "Стандартная"), перейдите на вкладку Свойства документов и выберите Примечания > Позиции.

Базовый стандарт позиций

Стандарт базовых позиций  
Верхняя Для верхней части позиции Разделительная окружность или для позиций остальных типов выберите значения следующих параметров:
  • Текст
  • Номер позиции
  • Количество
  • Свойства пользователя
Параметр Верхний применяется к единичной позиции или позиции одна на другой.
Нижняя Для нижней части позиции Разделительная окружность выберите значения следующих параметров:
  • Текст
  • Номер позиции
  • Количество
  • Свойства пользователя

Одна позиция

Стиль Выберите значение Нет, чтобы текст позиции отображался без рамки, или выберите форму позиции. По умолчанию используется Круглая.
Скругленный Треугольный
Шестиугольник Рамка
Ромб Пятиугольник
Разделительная окружность Флаг - Пятиугольный
Флаг - Треугольник Подчеркнутый
Квадратный Квадрат/окружность
Проверить Нет
Размер Выберите размер (указанное количество символов), Тугая посадка (автоматически корректируется по тексту) или Настроенный пользователем размер (где можно указать размер позиции).

Группа позиций

Стиль Выберите форму позиции.
Размер

Выберите размер (указанное количество символов), Тугая посадка (автоматически корректируется по тексту) или Настроенный пользователем размер (где можно указать размер позиции).

Компоновка авто-позиций

Выберите компоновку:
  • Квадрат
  • Cнизу
  • Слева
  • Круг
  • Сверху
  • Справа
Квадратная компоновка


Оставьте отзыв об этом разделе

SOLIDWORKS благодарит Вас за отзыв по поводу представления, точности и полноты документации. Воспользуйтесь формой ниже, чтобы отправить свои комментарии и предложения о данном разделе справки в Отдел документации. Отдел документации не предоставляет ответы на вопросы по технической поддержке. Нажмите здесь для получения информации о технической поддержке.

* Обязательно

 
*Электронная почта:  
Тема:   Отзывы по поводу разделов Справки
Страница:   Свойства документа - Позиции
*Отзыв:  
*   Я подтверждаю, что прочитал(а) и принимаю положения политики конфиденциальности, в соответствии с которыми Dassault Systèmes будет использовать мои персональные данные.

Печать разделов

Выберите содержимое для печати:

x

Вы используете более раннюю версию браузера, чем Internet Explorer 7. Для оптимизации отображения рекомендуется обновить Ваш браузер до версии Internet Explorer 7 или новее.

 Больше не отображать это сообщение
x

Версия содержимого веб-справки: SOLIDWORKS 2013 SP05

Чтобы отключить веб-справку в программе SOLIDWORKS и использовать локальную версию справки, нажмите Справка > Использовать веб-справку по SOLIDWORKS .

По проблемам, связанным с интерфейсом и поиском по веб-справке, обращайтесь к местному представителю службы поддержки. Чтобы оставить отзыв по отдельным темам справки, воспользуйтесь ссылкой "Отзыв об этом разделе" на странице нужного раздела.