Informacje ogólne wyszczególniają typowe zadania kreślenia dwuwymiarowego oraz ich rozwiązania w SolidWorks. Zadania i rozwiązania pokazują jak utworzyć następujący rysunek.

Zobacz jak utworzyć ten rysunek z modelu 3D.
Narzędzia opisywania szczegółów i adnotacji nie są w tym opisie używane. Aby zapoznać się z samouczkiem opisującym krok po kroku używanie narzędzi opisywania szczegółów i adnotacji SolidWorks, patrz: Samouczek Zaawansowanych rysunków klikając .
Tworzenie widoku od przodu
Zadania |
Rozwiązania |
Tworzenie poziomych krawędzi widoku rysunku.
|
Należy naszkicować dolną linię poziomą przy użyciu narzędzia Linia i użyć narzędzia Odsuń elementy , aby utworzyć dodatkowe krawędzie.

|
Tworzenie pionowych krawędzi widoku rysunku.
|
Należy naszkicować linię symetrii przy użyciu narzędzia Linia środkowa
 i użyć narzędzia Odsuń elementy , aby odsunąć linię środkową w dwóch kierunkach.

|
Usuwanie nadmiar elementów szkicu.
|
Należy użyć narzędzia Przytnij elementy z opcjami Narożnik i Zaawansowane przycinanie.
|
Zmienianie stylów linii, aby ukazać ukryte otwory.
|
Należy użyć narzędzia Styl linii , aby zmienić linie z ciągłych na przerywane.
 |
Powrót do kategorii zadań
Tworzenie widoku od góry poprzez rzutowanie widoku od przodu
|
|
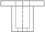
Przed (widok od przodu)
|
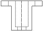
Po (widoki od przodu i od góry)
|
Zadania |
Rozwiązania |
Wyrównywanie widoku od góry i widoku od przodu.
|
Przy użyciu narzędzia Linia , należy naszkicować nieskończone linie jako linie rzutowania. Wideo: Szkicowanie pionowych nieskończonych linii jako linii rzutowania

|
Tworzenie poziomych krawędzi widoku rysunku.
|
Przy użyciu narzędzia
Linia środkowa
, należy naszkicować poziomą linię symetrii, aby zdefiniować środek widoku rysunku. Odsunąć linię środkową przy pomocy narzędzia
Odsuń elementy
, aby utworzyć dodatkowe krawędzie widoku rysunku.

|
Usuwanie nadmiar elementów szkicu.
|
Należy użyć narzędzia Przytnij elementy z opcjami Przytnij na zewnątrz, Narożnik i Zaawansowane przycinanie.
 |
 |
Przytnij na zewnątrz |
Narożnik |
 |
Zaawansowane przycinanie |
Wideo: Przycinanie na zewnątrz elementów
|
Tworzenie otworu w środku rysunku.
|
Należy użyć narzędzi
Okrąg
i
Przyciąganie do punktu środkowego
, aby utworzyć otwór, który jest przyciągany do środka rysunku.
Wideo: Szkicowanie koła przyciąganego do środka rysunku
 |
Przyciąganie do punktu środkowego |
 |
Okrąg |
|
Usuwanie nadmiaru linii.
|
Należy przytrzymać klawisz Ctrl, aby wybrać wiele linii i nacisnąć klawisz Delete.

|
Zmienianie stylów linii, aby ukazać ukryte otwory.
|
Należy użyć narzędzia Styl linii , aby zmienić linie z ciągłych na przerywane.

|
Powrót do kategorii zadań
Tworzenie widoku prawej strony poprzez rzutowanie widoku od przodu i od góry
|
|
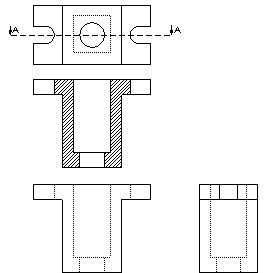
Przed (widoki od przodu i od góry)
|
Po (widoki od przodu, od góry i prawej strony)
|
Powrót do kategorii zadań