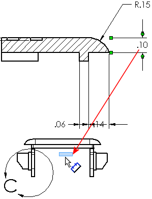
Você pode mover linhas de chamada de dimensões radiais, diâmetros, chanfros e linhas de chamada de furos entre recursos de mesmo tamanho em uma vista de desenho.
Para mover os pontos finais da linha de chamada de dimensão e de furo, arraste-os de um recurso para outro.