Pour ouvrir le PropertyManager Vue en coupe :
Créez une vue en coupe dans une mise en plan, quand vous cliquez sur Editer l'esquisse dans le PropertyManager, ou sélectionnez une vue en coupe actuelle.
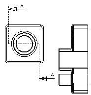
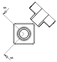
Ligne de coupe
 |
Inverser la direction |
La direction de la coupe peut aussi être inversée en double-cliquant sur la ligne de coupe.
|
 |
Etiquette |
Editez la lettre associée avec la ligne de coupe et la vue en coupe.
|
| |
Police |
Pour choisir une police pour le label de la ligne de coupe autre que la police du document, désactivez la case à cocher Police du document et cliquez sur Police. Si vous changez la police du label de la ligne de coupe, vous pouvez appliquer la nouvelle police au label de la vue de coupe.
|
Vue en coupe
| Coupe partielle |
Crée une vue en coupe limitée par la longueur de la ligne de coupe si celle-ci ne couvre pas la totalité de la vue.
|
| Afficher seulement faces coupées |
Affiche la section définie par la ligne de coupe.
|
| |
Coupe complète

|
Coupe partielle

|
Section

|
| Hachurage automatique |
Les motifs de hachures sont alternés d'un composant à l'autre dans les assemblages ou d'un corps à l'autre dans les pièces à corps multiples et les constructions soudées. Les motifs de hachures sont alternés lorsque vous faites une coupe d'un assemblage. |
 |
| Corps surfaciques |
Affiche une vue en coupe de corps surfaciques depuis la vue parente d'un modèle. Vous pouvez appliquer des annotations telles que des notes et des cotes à la coupe transversale de la surface. Ce paramètre reste activé dans les sessions suivantes. |
 |
| Masquer les cassures de ligne de coupe |
 |
| Vue réduite |
 |
| Activer/désactiver l'alignement |
Cliquez pour modifier l'alignement de la vue en coupe.

 |
Profondeur de coupe
Vous permet de définir la profondeur d'une vue en coupe jusqu'à la distance spécifiée. Cette commande est uniquement disponible pour les vues en coupe dont la ligne de coupe se compose d'un seul segment de ligne.
Les vues en coupe de type distance s'appliquent aux composants, pas aux fonctions.
Pour définir une distance, effectuez l'une des opérations suivantes :
- Définissez une valeur pour Profondeur
.
- Sélectionnez une géométrie (telle qu'une arête ou un axe) dans la vue parente comme Référence de profondeur
.
- Faites glisser le plan de coupe rose dans la zone graphique pour définir la profondeur de la coupe. Tous les composants situés entre la ligne de coupe et le plan de coupe apparaîtront dans la vue en coupe.
| Aperçu |
 |
Importer l'annotation de
| Importer les annotations |
Sélectionnez Importer les annotations pour importer tous les types d'annotations depuis les documents de pièce ou d'assemblage référencés.
Sélectionnez des options d'import pour les annotations:
- Annotations de conception
- Annotations DimXpert
- Inclure les objets des fonctions cachées
|
Etat d'affichage
Pour les assemblages uniquement. Sélectionnez un état d'affichage de l'assemblage à placer dans la mise en plan.
L'état d'affichage cacher/montrer

est pris en charge par tous les états d'affichage. D'autres états d'affichage (
mode d'affichage

,
couleur

, etc.) ne sont pris en charge qu'en modes
Arêtes en mode Image ombrée

et
Image ombrée

.
Style d'affichage
| Utiliser le style du parent |
Désactivez cette case à cocher pour sélectionner des réglages de style et de qualité différents de ceux de la vue parente.
|
Cliquez sur un style d'affichage.
Sélectionnez Haute qualité ou Qualité ébauche pour définir la qualité d'affichage du modèle. Cette option n'est disponible que si la Qualité d'affichage pour les nouvelles vues est réglée sur Qualité ébauche. Si vous sélectionnez Haute qualité, ces options n'apparaissent plus.
Echelle
| Utiliser l'échelle du parent |
Applique la même échelle que celle utilisée pour la vue parente. Si vous modifiez l'échelle de la vue parente, l'échelle de toutes les vues enfants qui utilisent l'échelle du parent est mise à jour. |
| Utiliser l'échelle de la feuille |
Applique la même échelle que celle utilisée pour la feuille de mise en plan. |
| Utiliser une échelle personnalisée |
Applique une échelle que vous définissez. Si vous sélectionnez Définie par l'utilisateur, tapez une échelle dans la case située dessous sous la forme: x:x ou x/x. Sélectionnez Utiliser l'échelle du texte du modèle pour maintenir la géométrie utilisée dans vues d'annotations dans les pièces. |
Les options prédéfinies dans Utiliser une échelle personnalisée varient en fonction de la norme de cotation.
Type de cotes
Les cotes dans les mises en plan sont soit:
| Vrai |
Valeurs exactes du modèle. |
| Projetée |
Cotes 2D. |
Le type de cote est réglé lorsque vous insérez une vue de mise en plan. Vous pouvez visionner et changer les types de cotes dans les PropertyManager des vues de mise en plan.
Les règles pour les types de cotes sont les suivantes:
- SolidWorks spécifie les cotes de type Projeté pour les vues standard et personnalisées orthogonales et de type Vrai pour les vues isométriques, dimétriques et trimétriques.
- Si vous créez une vue projetée ou auxiliaire à partir d'une autre vue, la nouvelle vue utilise des cotes de type Projeté, même si la vue d'origine utilise des cotes de type Vrai.
Affichage des représentations de filetage
Les paramètres suivants prévalent sur l'option Affichage des représentations de filetage spécifiée dans , s'il existe des représentations de filetage dans la vue de mise en plan.
| Haute qualité |
Affiche des polices de ligne et des détails précis dans les représentations de filetage. Si une représentation de filetage n'est que partiellement visible, Haute qualité ne montre que la partie visible (indication précise de ce qui est visible et de ce qui ne l'est pas.)
Les performances du système sont ralenties avec les représentations de filetage de haute qualité. Il est recommandé de désactiver cette option jusqu'à ce que vous ayez placé toutes les annotations.
|
| Qualité ébauche |
Affichage les représentations de filetage avec moins de détails. Si une représentation de filetage n'est que partiellement visible, Qualité ébauche montre la fonction entière.
|