Masquer le sommaire

Référence DimXpert

Utilisez l'outil RéférenceDimXpert pour définir les fonctions de référence.

Pour accéder à cet outil :

Cliquez sur Référence (barre d'outils DimXpert) ou sur Outils > DimXpert > Référence.

Cet outil prend en charge les types de fonctions suivants :

  • Bossage
  • Cylindre
  • Encoche
  • Plan
  • Perçage simple
  • Rainure
  • Largeur

La plupart des options du PropertyManager Référence de DimXpert sont similaires à celles du PropertyManager Référence non spécifique à DimXpert. Les différences sont indiquées ci-dessous.

Paramètres des labels

Lorsque vous appliquez ou éditez une référence, entrez un Label de référence et attribuez-lui un type de ligne d'attache.

Spécifiez le label initial sous Outils > Options > Propriétés du document > Norme d'habillage > Annotations > Références .

Lorsque vous saisissez des labels de référence, la syntaxe des valeurs d'entrée est vérifiée selon la norme de la mise en plan active. Par exemple :

  • L'entrée d'une valeur numérique génère un message d'avertissement pour toutes les normes.
  • L'entrée de I, O ou Q génère un message d'avertissement lorsque vous utilisez la norme ANSI.
  • L'entrée de AA génère un message d'avertissement lorsque vous utilisez la norme ISO.

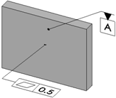
Ligne d'attache

datum.png Surface Attache le triangle de référence à la surface d'une fonction.

Ligne d'attache dirigée Attache le triangle de référence à une ligne d'attache dirigée.

Dimension Attache le triangle de référence à une cote ou une définition du contenu des cases.



Gtol Attache le triangle de référence à une définition du contenu des cases.

Exemples de références par fonction

Bossage
Cylindre
Encoche
Plan
Perçage simple

Rainure
Largeur

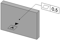
Application d'un repère d'élément de référence

Pour appliquer un repère d'élément de référence:

  1. Cliquez sur Référence (barre d'outils DimXpert) ou sur Outils > DimXpert > Référence.
  2. Sélectionnez la face de l'élément de référence et cliquez dans la zone graphique pour y placer le repère.

    Si la face sélectionnée peut être utilisée pour définir plus d'un type de fonction, utilisez le sélecteur de fonctions pour choisir la fonction requise.

  3. Cliquez sur PM_OK.gif.


Faire un commentaire sur cette rubrique

Tous les commentaires concernant la présentation, l'exactitude et l'exhaustivité de la documentation sont les bienvenus. Utilisez le formulaire ci-dessous pour faire parvenir vos commentaires et suggestions directement à notre équipe de documentation. Celle-ci ne peut pas répondre aux questions de support technique. Cliquez ici pour des informations sur le support technique.

* Requis

 
*Courriel:  
Sujet:   Commentaires sur les rubriques d'aide
Page:   Référence DimXpert
*Commentaire:  
*   Je reconnais avoir pris connaissance et accepter par la présente la politique de confidentialité en vertu de laquelle mes données personnelles seront utilisées par Dassault Systèmes

Rubrique d'impression

Sélectionner l'étendue du contenu à imprimer :

x

La version du navigateur que vous utilisez est antérieure à Internet Explorer 7. Afin d'optimiser l'affichage, nous suggérons d'utiliser Internet Explorer 7 ou une version ultérieure.

 Ne plus afficher ce message
x

Version du contenu de l'aide sur le Web: SOLIDWORKS 2014 SP05

Pour désactiver l'aide sur le Web dans SOLIDWORKS et utiliser l'aide locale à la place, cliquez sur ? > Utiliser l'aide sur le Web de SOLIDWORKS.

Pour signaler tout problème rencontré avec l'interface ou la fonctionnalité de recherche de l'aide sur le Web, contactez votre support technique local. Pour faire part de vos commentaires sur des rubriques d'aide individuelles, utilisez le lien “Commentaires sur cette rubrique” sur la page de la rubrique concernée.