Expand IntroductionIntroduction
Expand AdministrationAdministration
Expand Interface utilisateurInterface utilisateur
Expand Fonctions de base de SolidWorksFonctions de base de SolidWorks
Expand Migrer de la 2D à la 3DMigrer de la 2D à la 3D
Expand AssemblagesAssemblages
Expand CircuitWorksCircuitWorks
Expand ConfigurationsConfigurations
Expand SolidWorks CostingSolidWorks Costing
Expand Design CheckerDesign Checker
Expand Etudes de conception dans SolidWorksEtudes de conception dans SolidWorks
Collapse Habillage et mises en planHabillage et mises en plan
Vue d'ensemble de la fonction d'habillage
Définir les options d'habillage
Objets du modèle
Le PropertyManager Objets du modèle
Expand eDrawings MarquageseDrawings Marquages
Expand StyleStyle
Ajouter ou mettre à jour un style
Expand AnnotationsAnnotations
Expand TablesTables
Expand Nomenclature (BOM)Nomenclature (BOM)
Expand Normes d'habillageNormes d'habillage
Expand Paramètres d'impressionParamètres d'impression
Collapse Mises en planMises en plan
Expand DFMXpressDFMXpress
Expand DriveWorksXpressDriveWorksXpress
Expand FloXpressFloXpress
Expand Opérations d'import et d'exportOpérations d'import et d'export
Expand Affichage du modèleAffichage du modèle
Expand Conception de moulesConception de moules
Expand Etudes de mouvementEtudes de mouvement
Expand Pièces et fonctionsPièces et fonctions
Expand RoutageRoutage
Expand TôlerieTôlerie
Expand SimulationSimulation
Expand SimulationXpressSimulationXpress
Expand EsquisseEsquisse
Expand Produits SustainabilityProduits Sustainability
Expand SolidWorks UtilitiesSolidWorks Utilities
Expand TolerancingTolerancing
Expand TolAnalystTolAnalyst
Expand ToolboxToolbox
Expand Constructions soudéesConstructions soudées
Expand Workgroup PDMWorkgroup PDM
Expand DépannageDépannage
Glossaire
Masquer le sommaire

Déplacer et copier des cotes

Une fois que les cotes sont affichées dans une mise en plan, vous pouvez les déplacer à l'intérieur d'une vue ou vers une autre vue. Lorsque vous faites glisser une cote d'un endroit à un autre, elle s'attache à nouveau au modèle, comme approprié. Vous pouvez seulement déplacer ou copier des cotes vers une vue où l'orientation est appropriée à la cotation.

Vidéo : Déplacer et copier des cotes

Pour déplacer une cote dans la vue :

Faites glisser la cote jusqu’à la nouvelle position.

Pour passer une cote à une autre fonction de la même taille à l'intérieur de la vue :

Sélectionnez la cote, puis faites glisser la pointe de flèche et déposez-la sur une autre arête.

Cette méthode fonctionne avec les cotes radiales, de diamètre et de chanfrein uniquement.
switch_same_sized_features_01.gif

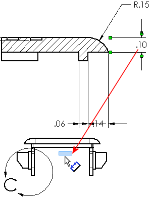
Pour déplacer ou copier des cotes d'une vue vers une autre :

Gardez enfoncée la touche Maj enfoncée (pour déplacer) ou la touche Ctrl (pour copier) pendant que vous faites glisser les cotes dans une autre vue.

Utilisez cette méthode pour créer plusieurs cotes pilotantes.
move_copy_dims.gif

Pour déplacer ou copier plusieurs cotes à la fois :

Maintenez la touche Ctrl enfoncée pendant la sélection.

Pour faire pivoter une cote :

Faites glisser la poignée la plus proche du texte de la cote.

La cote pivote par petits intervalles.
rotate_dimension.gif

Contrôle des lignes d'attache de cote pour les fonctions de même taille

Vous pouvez déplacer des lignes d'attache de cote radiales, de diamètre ou de chanfrein, ou des lignes d'attache des symboles pour le perçage entre les fonctions de même taille dans une vue de mise en plan.

Pour déplacer les extrémités des lignes d'attache de cote et des symboles pour le perçage pour les fonctions communes, faites glisser les extrémités des lignes d'attache d'une fonction à l'autre.



Faire un commentaire sur cette rubrique

Tous les commentaires concernant la présentation, l'exactitude et l'exhaustivité de la documentation sont les bienvenus. Utilisez le formulaire ci-dessous pour faire parvenir vos commentaires et suggestions directement à notre équipe de documentation. Celle-ci ne peut pas répondre aux questions de support technique. Cliquez ici pour des informations sur le support technique.

* Requis

 
*Courriel:  
Sujet:   Commentaires sur les rubriques d'aide
Page:   Déplacer et copier des cotes
*Commentaire:  
*   Je reconnais avoir pris connaissance et accepter par la présente la politique de confidentialité en vertu de laquelle mes données personnelles seront utilisées par Dassault Systèmes

Rubrique d'impression

Sélectionner l'étendue du contenu à imprimer :

x

La version du navigateur que vous utilisez est antérieure à Internet Explorer 7. Afin d'optimiser l'affichage, nous suggérons d'utiliser Internet Explorer 7 ou une version ultérieure.

 Ne plus afficher ce message
x

Version du contenu de l'aide sur le Web: SOLIDWORKS 2014 SP05

Pour désactiver l'aide sur le Web dans SOLIDWORKS et utiliser l'aide locale à la place, cliquez sur ? > Utiliser l'aide sur le Web de SOLIDWORKS.

Pour signaler tout problème rencontré avec l'interface ou la fonctionnalité de recherche de l'aide sur le Web, contactez votre support technique local. Pour faire part de vos commentaires sur des rubriques d'aide individuelles, utilisez le lien “Commentaires sur cette rubrique” sur la page de la rubrique concernée.