Ces exemples illustrent l'ajout de décalages à une ligne de coupe.
Premier point sur la ligne de coupe pour commencer le décalage d'arc
Deuxième point sur la géométrie pour définir l'angle du décalage
Premier point sur la ligne de coupe pour commencer le décalage simple
Deuxième point sur la géométrie pour définir la profondeur du décalage
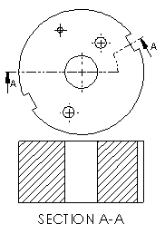
Premier point sur la ligne de coupe pour commencer le décalage d'encoche
Deuxième point sur la ligne de coupe pour définir la longueur du décalage
Troisième point sur la géométrie pour définir la profondeur du décalage
Faire un commentaire sur cette rubrique
Tous les commentaires concernant la présentation, l'exactitude et l'exhaustivité de la documentation sont les bienvenus. Utilisez le formulaire ci-dessous pour faire parvenir vos commentaires et suggestions directement à notre équipe de documentation. Celle-ci ne peut pas répondre aux questions de support technique. Cliquez ici pour des informations sur le support technique.
* Requis
Merci pour vos commentaires. Nous vous contacterons en cas de questions.
Cordialement,L'équipe de documentation de SOLIDWORKS
Rubrique d'impression
Sélectionner l'étendue du contenu à imprimer :
La version du navigateur que vous utilisez est antérieure à Internet Explorer 7. Afin d'optimiser l'affichage, nous suggérons d'utiliser Internet Explorer 7 ou une version ultérieure.
Version du contenu de l'aide sur le Web: SOLIDWORKS 2014 SP05 Pour désactiver l'aide sur le Web dans SOLIDWORKS et utiliser l'aide locale à la place, cliquez sur ? > Utiliser l'aide sur le Web de SOLIDWORKS. Pour signaler tout problème rencontré avec l'interface ou la fonctionnalité de recherche de l'aide sur le Web, contactez votre support technique local. Pour faire part de vos commentaires sur des rubriques d'aide individuelles, utilisez le lien “Commentaires sur cette rubrique” sur la page de la rubrique concernée.