目次を表示しない

二次元図面の概要

ここでは、典型的な2D 作成関連タスクと、適切なSolidWorks ソリューションを紹介します。これらのタスクとソリューションは、次のような図面を作成するための方法を示します。



この図面を 3D モデルから作成する方法方法を参照してください。

この概要では、詳細ツールやアノテート アイテム ツールは使用しません。 SolidWorks の詳細ツールやアノテート アイテム ツールをハイライトするステップ バイ ステップのチュートリアルについては、 ヘルプ(Help) > SolidWorks チュートリアル(SolidWorks Tutorial) > すべての SolidWorks チュートリアル(All SolidWorks Tutorials) をクリックし、図面のチュートリアル(応用)を参照してください。

タスク カテゴリ

正面図を作成する

タスク(Tasks) ソリューション
図面ビューの水平エッジを作成します。 直線 ツールを使用して下部の水平線をスケッチし、エンティティ オフセット ツールを使用して追加エッジを作成します。

図面ビューの垂直なエッジを作成します。 中心線

を使用して対称的な線をスケッチし、次に エンティティ オフセット ツールを使用して中心線を両方向にオフセットします。

余分なスケッチ エンティティを削除します。 コーナー トリムとパワー トリム オプションで エンティティのトリム
ツールを使用します。
線の種類を変更し、非表示の穴を示します。 線の種類 ツールを使用して線を実線から破線へと変更します。
タスク カテゴリに戻る

正面図を投影し、平面図を作成する

作成前(正面図) 作成後(正面図と平面図)
タスク(Tasks) ソリューション
平面図を正面図と整列させます。 直線 ツールを使用して垂直な無限の線を投影線としてスケッチします。

ビデオ: 垂直な無限の線を投影線としてスケッチする



図面ビューの水平エッジを作成します。 中心線 ツールを使用して水平な対称線をスケッチし、図面ビューの中央を定義します。 エンティティ オフセット ツールを使用して中心線をオフセットし、図面ビューに追加のエッジを作成します。

余分なスケッチ エンティティを削除します。 外側をトリム、コーナー トリム、およびパワー トリム オプションで エンティティのトリム ツールを使用します。
外側をトリム(Trim away outside) コーナー
パワー トリム

ビデオ: 外側をトリム

図面の中央に穴を作成します。 ツールと 中点にスナップ ツールを使用して図面の中央にスナップする穴を作成します。

ビデオ: 図面の中心にスナップする円のスケッチ

中点にスナップ
円形
余分な線を削除します。 Ctrlキーを押しながら、複数の線を選択し、削除(Delete)キーを押します。

線の種類を変更し、非表示の穴を示します。 線の種類 ツールを使用して線を実線から破線へと変更します。

タスク カテゴリに戻る

正面図と平面図を投影し、右側面図を作成する

作成前(正面図と平面図) 作成後(正面図、平面図及び右側面図)
タスク(Tasks) ソリューション
右側面図を正面図と平面図と整列させます。 水平な無限の線を投影線として使用します。

図面ビューの垂直なエッジを作成します。 エンティティの回転 ツールを使用して(平面図からの)投影線を -90° 回転させます。

ビデオ: エンティティの回転



余分なスケッチ エンティティを削除します。 外側をトリム、コーナー トリム、およびパワー トリム オプションで エンティティのトリム ツールを使用します。
外側をトリム(Trim away outside) パワー トリム コーナー(Corner)
線の種類を変更し、非表示の穴を示します。 線の種類 ツールを使用して線を実線から破線へと変更します。
タスク カテゴリに戻る

平面図にスロットを追加する

作成前(平面図) 作成後(平面図)
タスク(Tasks) ソリューション
ビュー内でスロットを中央に位置付けします。 中心線 ツールを使用して水平、及び垂直な作図線を作成します。

スロットの水平エッジを作成します。 エンティティ オフセット ツールを使用して中心線をオフセットします。

余分なスケッチ エンティティを削除します。 エンティティのトリム ツールとパワー トリム オプションを使用します。

スロットを囲む円弧を作成します。 正接円弧 ツールを使用します。

余分なスケッチ エンティティを削除します。 エンティティのトリム ツールとパワー トリム オプションを使用します。

図面ビューの反対側に対称的なスロットを作成します。 (スロットのスペースを確保するために)図面ビューの反対側の垂直なエッジを削除し、 エンティティのミラー ツールを使用してスロットをミラーコピーします。

ビデオ: エンティティをミラー



タスク カテゴリに戻る

正面図と右側面図にスロットを投影する

作成前(正面図、平面図及び右側面図)
作成後(正面図、平面図及び右側面図)
タスク(Tasks) ソリューション
平面図のスロットを正面図と整列させます。 垂直な無限の線を投影線として使用します。

非表示のスロットを示すために、線の種類を変更します。 線の種類 ツールを使用して線を実線から破線へと変更します。

余分なスケッチ エンティティを削除します。 エンティティのトリム ツールとパワー トリム オプションを使用します。

平面図のスロットを右側面図と整列させます。 水平な線を投影線としてスケッチし、エンティティの回転 ツールで -90°回転します。

ビデオ:投影線の回転

余分なスケッチ エンティティを削除します。 エンティティのトリム ツールとパワー トリム オプションを使用します。

タスク カテゴリに戻る

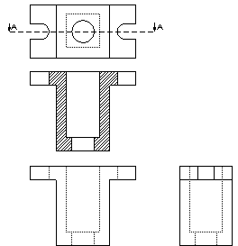
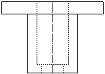
正面図から断面図を作成する

作成前(正面図) 作成後 (断面図)
タスク(Tasks) ソリューション
図面ビューの余分な線を削除し、断面図を作成します。 エンティティのトリム ツールとパワー トリム オプションを使用します。

非表示の穴とスロットが表示されるように線の種類を変更します。 線の種類 ツールを使用して線を実線から破線へと変更します。

図面ビューの実線の領域を示すためにハッチング パターンを作成します。 領域のハッチング/フィル ツールを使用してハッチング断面を適用します。

ビデオ: ハッチング断面の適用



タスク カテゴリに戻る

3Dモデルから図面を作成する(Create a Drawing from a 3D Model)

3Dモデルでは、2つのステップで同一の図面を作成できます。



タスク(Tasks) ソリューション
正面図、平面図及び右側面図を作成します。 図面ツールバーが表示されている新しい 図面シートで、標準 3 面図 を選択し、標準 3 面図 PropertyManager でドキュメントを検索します。
断面図を作成します。 図面ドキュメントで、断面図 ツールを使用して、平面図から断面図を作成します。 断面図に自動的にハッチングが適用されます。


トピックについてフィードバックを送信

ヘルプに関してフィードバックを送信することができます。しかし、ドキュメンテーション グループはテクニカル サポートに関する質問に答えることはできません。 テクニカル サポートに関する情報はここをクリックしてください

* 必要項目

 
*電子メール:  
件名:   トピックのフィードバック
ページ:   二次元図面の概要
*コメント:  
*   プライバシー ポリシーを読み、個人情報が Dassault Systèmes によって使用されることに同意します。

トピックの印刷

印刷するコンテンツの範囲を選択:

x

Internet Explorer 7 より古いブラウザ バージョンが検知されました。 表示を最適化するにはInternet Explorer 7 以上のブラウザ バージョンにアップグレードしてください。

 今後このメッセージを表示しない
x

Web ヘルプ コンテンツ バージョン: SOLIDWORKS 2014 SP05

SOLIDWORKS で Web ヘルプを無効にして、ローカル ヘルプを使用するには、ヘルプ > SOLIDWORKS Web ヘルプ使用 をクリックしてください。

Web ヘルプのインタフェースや検索機能に関する問題は、お客様のサポート担当者までご連絡ください。各トピック ページの「トピックについてフィードバックする」リンクを使用し、各ヘルプ トピックについてフィードバックを送信することもできます。