Ocultar tabla de contenido

Perspectiva general de croquizado en 2D

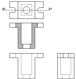
En esta página se muestran las tareas habituales del croquizado en 2D y las soluciones de SolidWorks correspondientes. Las tareas y soluciones muestran cómo crear el siguiente dibujo.



Consulte cómo crear este dibujo a partir de un modelo 3D.

En esta perspectiva general no se utilizan herramientas de documentación ni de anotación. Para consultar un tutorial paso a paso que resalte las herramientas de documentación y de anotación de SolidWorks, consulte el tutorial Técnicas avanzadas de dibujo haciendo clic en Ayuda > Tutoriales de SolidWorks > Todos los Tutoriales de SolidWorks.

Categorías de tareas

Creación de una vista frontal

Tareas Soluciones
Cree las aristas horizontales de la vista de dibujo. Realice un croquis de la línea horizontal inferior con la herramienta Línea y utilice la herramienta Equidistanciar entidades para crear más aristas.

Cree las aristas verticales de la vista de dibujo. Trace una línea simétrica con la herramienta Línea constructiva

y use la herramienta Equidistanciar entidades para mantener en equidistancia la línea constructiva bidireccionalmente.

Elimine las entidades de croquis sobrantes. Utilice la herramienta Recortar entidades
con las opciones de esquina y recorte inteligente.
Cambie los estilos de línea para señalar los taladros ocultos. Utilice la herramienta Estilo de línea para cambiar las líneas de continuas a discontinuas.
Volver a las categorías de tareas

Creación de una vista superior proyectando una vista frontal

Antes (vista frontal) Después (vistas frontal y superior)
Tareas Soluciones
Alinee la vista superior con la vista frontal. Realice un croquis de líneas infinitas verticales como líneas de proyección con la herramienta Línea.

Vídeo: Croquizado de líneas infinitas verticales como líneas de proyección



Cree las aristas horizontales de la vista de dibujo. Realice un croquis de una línea de simetría horizontal con la herramienta Línea constructiva para definir la mitad de la vista de dibujo. Equidistancie la línea constructiva con la herramienta Equidistanciar entidades para crear aristas adicionales de la vista de dibujo.

Elimine las entidades de croquis sobrantes. Utilice la herramienta Recortar entidades con las opciones Recortar fuera de límite, esquina y recorte inteligente.
Recortar fuera de límite Esquina
Recorte inteligente

Vídeo: Recorte de entidades fuera de límite

Cree un taladro en el centro del dibujo. Utilice las herramientas Círculo y Enganchar a puntos medios para crear un taladro que se enganche en el centro del dibujo.

Vídeo: Croquizado de un círculo que se engancha al centro del dibujo

Enganchar a puntos medios
Círculo
Elimine las líneas sobrantes. Mantenga presionada la tecla Ctrl para seleccionar múltiples líneas y presione la tecla SUPR.

Cambie los estilos de línea para señalar los taladros ocultos. Utilice la herramienta Estilo de línea para cambiar las líneas de continuas a discontinuas.

Volver a las categorías de tareas

Creación de una vista derecha proyectando una vista frontal y superior

Antes (vistas frontal y superior) Después (vistas frontal, superior y derecha)
Tareas Soluciones
Alinee la vista derecha con las vistas frontal y superior. Utilice líneas infinitas horizontales como líneas de proyección.

Cree las aristas verticales de la vista de dibujo. Gire las líneas de proyección (desde la vista superior) -90° con la herramienta Girar entidades.

Vídeo: Giro de entidades



Elimine las entidades de croquis sobrantes. Utilice la herramienta Recortar entidades con las opciones Recortar fuera de límite, esquina y recorte inteligente.
Recortar fuera de límite Recorte inteligente Esquina
Cambie los estilos de línea para señalar los taladros ocultos. Utilice la herramienta Estilo de línea para cambiar las líneas de continuas a discontinuas.
Volver a las categorías de tareas

Adición de una ranura a la vista superior

Antes (vista superior) Después (vista superior)
Tareas Soluciones
Centre la ranura en la vista. Utilice la herramienta Línea constructiva para crear líneas constructivas horizontales y verticales.

Cree las aristas horizontales de la ranura. Utilice la herramienta Equidistanciar entidades para equidistanciar las líneas constructivas.

Elimine las entidades de croquis sobrantes. Utilice la herramienta Recortar entidades con la opción de recorte inteligente.

Cree un arco para encerrar la ranura. Use la herramienta Arco tangente.

Elimine las entidades de croquis sobrantes. Utilice la herramienta Recortar entidades con la opción de recorte inteligente.

Cree una ranura simétrica en el lado opuesto de la vista de dibujo. Elimine la arista vertical del lado opuesto de la vista de dibujo (para crear un espacio para la ranura) y luego utilice la herramienta Entidades simétricas para crear una ranura simétrica.

Vídeo: Simetría de entidades



Volver a las categorías de tareas

Proyección de la ranura en las vistas frontal y derecha

Antes (vistas frontal, superior y derecha)
Después (vistas frontal, superior y derecha)
Tareas Soluciones
Alinee la ranura de la vista superior con la vista frontal. Utilice líneas infinitas verticales como líneas de proyección.

Cambie los estilos de línea para señalar las ranuras ocultas. Utilice la herramienta Estilo de línea para cambiar las líneas de continuas a discontinuas.

Elimine las entidades de croquis sobrantes. Utilice la herramienta Recortar entidades con la opción de recorte inteligente.

Alinee la ranura de la vista superior con la vista derecha. Realice un croquis de líneas infinitas horizontales como líneas de proyección y, a continuación, gire las líneas -90° con la herramienta Girar entidades.

Vídeo: Giro de líneas de proyección

Elimine las entidades de croquis sobrantes. Utilice la herramienta Recortar entidades con la opción de recorte inteligente.

Volver a las categorías de tareas

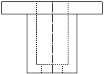
Creación de una vista de sección a partir de la vista frontal

Antes (vista frontal) Después (vista de sección)
Tareas Soluciones
Elimine la línea extra de la vista de dibujo para crear una sección transversal. Utilice la herramienta Recortar entidades con la opción de recorte inteligente.

Cambie los estilos de línea para que se muestren los taladros y las ranuras ocultos. Utilice la herramienta Estilo de línea para cambiar las líneas de continuas a discontinuas.

Cree un patrón de rayado para indicar las áreas sólidas de la vista de dibujo. Utilice la herramienta Área rayada/Rellenar para aplicar secciones de rayado.

Vídeo: Aplicación de secciones de rayado



Volver a las categorías de tareas

Crear un dibujo a partir de un modelo 3D

Con un modelo 3D, se puede crear el mismo dibujo en dos pasos.



Tareas Soluciones
Cree las vistas frontal, superior y derecha. En un nuevo hoja de dibujo, con la barra de herramientas Dibujo visible, seleccione 3 vistas estándar y examine el documento de la pieza en el PropertyManager 3 vistas estándar .
Cree una vista de sección. En el documento de dibujo, utilice la herramienta Vista de sección para crear una vista de sección a partir de la vista superior. Se aplica el rayado automáticamente a las vistas de sección.


Proporcione comentarios sobre este tema

SOLIDWORKS agradece sus comentarios acerca del formato, la precisión y la rigurosidad de la documentación. Utilice el siguiente formulario para enviar comentarios y sugerencias sobre este tema directamente al equipo de documentación. Nota: el equipo de documentación no puede responder a preguntas técnicas. Haga clic aquí para ver información sobre soporte técnico.

* Obligatorio

 
*Correo electrónico:  
Asunto:   Comentarios sobre los temas de la ayuda
Página:   Perspectiva general de croquizado en 2D
*Comentario:  
*   Por la presente confirmo que he leído y acepto la política de privacidad en virtud de la cual Dassault Systèmes usará mis Datos personales

Imprimir tema

Seleccione el ámbito del contenido que desee imprimir:

x

Hemos detectado que la versión de su explorador es anterior a Internet Explorer 7. Para una visualización óptima, le recomendamos que actualice a Internet Explorer 7 o versión superior.

 No volver a mostrar este mensaje
x

Versión del contenido de la ayuda web: SOLIDWORKS 2014 SP05

Para desactivar la ayuda web desde SOLIDWORKS y utilizar la ayuda local en su lugar, haga clic en Ayuda > Usar la ayuda web de SOLIDWORKS.

Para informar sobre problemas detectados con la interfaz y la función de búsqueda de la ayuda web, póngase en contacto con el representante local de soporte. Si desea proporcionar comentarios sobre temas individuales, utilice el vínculo “Comentarios sobre este tema” en la página del tema en cuestión.