Ocultar tabla de contenido

Referencia de DimXpert

Utilice la herramienta Referencia DimXpert para definir las operaciones de referencia.

Para tener acceso a esta herramienta:

Haga clic en Referencia (barra de herramientas DimXpert) o en Herramientas > DimXpert > Referencia.

La herramienta admite estos tipos de indicaciones:

  • Saliente
  • Cilindro
  • Muesca
  • Plano
  • Taladro sencillo
  • Ranura
  • Anchura

La mayoría de las opciones del PropertyManager Indicación de referencia de DimXpert son las mismas que las del PropertyManager Indicación de referencia no perteneciente a DimXpert. Las diferencias se enumeran a continuación.

Configuración de etiqueta

Al aplicar o editar una referencia, introduzca una referencia Etiqueta y asigne un tipo de línea indicativa.

Especifique la etiqueta de inicio, debajo de Opciones > Propiedades de documento > Estándar de dibujo > Anotaciones > Herramientas > Referencias .

Al introducir etiquetas de referencia, se comprueba la sintaxis en las entradas según el estándar de dibujo activo. Por ejemplo:

  • La especificación de un valor numérico genera un mensaje de advertencia para todos los estándares.
  • La especificación de I, O o Q genera un mensaje de advertencia en el estándar ANSI.
  • La especificación de AA genera un mensaje de advertencia en el estándar ISO.

Línea indicativa

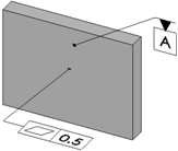
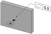
datum.png Superficie Une el triángulo de referencia a la superficie de una operación.

Línea indicativa dirigida Une el triángulo de referencia a la línea indicativa dirigida.

Cota Une el triángulo de referencia a una cota o marco de control de operación.



TolG Une el triángulo de referencia al marco de control de una operación.

Ejemplos de referencias por operación

Saliente
Cilindro
Muesca
Plano
Taladro sencillo

Ranura
Anchura

Aplicación de un símbolo de indicación de referencia

Para aplicar un símbolo de operación de referencia:

  1. Haga clic en Referencia (barra de herramientas DimXpert) o en DimXpertHerramientas > Referencia.
  2. Seleccione la cara de la operación de referencia y haga clic en la zona de gráficos para colocar su correspondiente símbolo.

    Si la cara seleccionada puede utilizarse para definir más de un tipo de operación, utilice el selector de operaciones para elegir la operación deseada.

  3. Haga clic en PM_OK.gif.


Proporcione comentarios sobre este tema

SOLIDWORKS agradece sus comentarios acerca del formato, la precisión y la rigurosidad de la documentación. Utilice el siguiente formulario para enviar comentarios y sugerencias sobre este tema directamente al equipo de documentación. Nota: el equipo de documentación no puede responder a preguntas técnicas. Haga clic aquí para ver información sobre soporte técnico.

* Obligatorio

 
*Correo electrónico:  
Asunto:   Comentarios sobre los temas de la ayuda
Página:   Referencia de DimXpert
*Comentario:  
*   Por la presente confirmo que he leído y acepto la política de privacidad en virtud de la cual Dassault Systèmes usará mis Datos personales

Imprimir tema

Seleccione el ámbito del contenido que desee imprimir:

x

Hemos detectado que la versión de su explorador es anterior a Internet Explorer 7. Para una visualización óptima, le recomendamos que actualice a Internet Explorer 7 o versión superior.

 No volver a mostrar este mensaje
x

Versión del contenido de la ayuda web: SOLIDWORKS 2014 SP05

Para desactivar la ayuda web desde SOLIDWORKS y utilizar la ayuda local en su lugar, haga clic en Ayuda > Usar la ayuda web de SOLIDWORKS.

Para informar sobre problemas detectados con la interfaz y la función de búsqueda de la ayuda web, póngase en contacto con el representante local de soporte. Si desea proporcionar comentarios sobre temas individuales, utilice el vínculo “Comentarios sobre este tema” en la página del tema en cuestión.