İçindekiler'i Gizle

2B Drafta Genel Bakış

Bu genel bakışta tipik 2B draft görevleri ve uygulanabilir SolidWorks çözümleri listelenir. Görev ve çözümler aşağıdaki teknik resmin nasıl oluşturulacağını gösterir.



Bkz. Bu teknik resmin bir 3B modelden nasıl oluşturulduğuna.

Detaylandırma ve detaylandırma araçları bu genel bakışta kullanılmamıştır. SolidWorks detaylar ve detaylandırma araçlarını anlatan adım adım bir öğretici için Help > SolidWorks Tutorials > All SolidWorks Tutorials öğesine tıklayarak Gelişmiş Teknik Resimler öğreticisine bakın.

Görev Kategorileri

Ön Görünüm Oluşturma

Görevler Çözümler
Teknik resim görünümünün yatay kenarlarını oluşturun. Line aracıyla alt yatay çizgiyi çizin ve ilave kenarlar oluşturmak için Objeleri Ötele aracını kullanın.

Teknik resim görünümünün dikey kenarlarını oluşturun. Merkez çizgisi

aracıyla bir simetri çizgisi çizin ve merkez çizgisini iki yönlü olarak ötelemek için Objeleri Ötele aracını kullanın.

Fazla çizim objelerini silin. Objeleri Kırp
aracını köşe kırpma ve toplu kırpma seçenekleriyle kullanın.
Gizli delikleri göstermek için çizgi stillerini değiştirin. Çizgileri kesintisiz stilden kesikli çizgi stiline dönüştürmek için Çizgi Stili aracını kullanın.
Görev kategorilerine geri dön

Ön görünümü yansıtarak üst görünüm oluşturma

Önce (ön görünüm) Sonra (ön ve üst görünümler)
Görevler Çözümler
Üst görünümü ön görünümle hizalayın. Çizgi aracıyla yansıtma çizgileri olarak dikey sonsuz çizgileri çizin.

Video: Yansıtma Çizgileri olarak Dikey Sonsuz Çizgilerin Çizilmesi



Teknik resim görünümünün yatay kenarlarını oluşturun. Teknik resim görünümünün ortasını tanımlamak için Merkez çizgisi aracıyla yatay bir simetri çizgisi çizin. Teknik resim görünümünün ilave kenarlarını oluşturmak için Objeleri Ötele aracıyla merkez çizgisini öteleyin.

Fazla çizim objelerini silin. Öğeleri Kırp aracını dışarıdan, köşe ve toplu kırpma seçenekleri ile kullanın.
Dışarıdan kırp Köşe
Toplu kırpma

Video: Dış Objelerin Kırpılması

Teknik resmin merkezinde bir delik oluşturun. Teknik resmin merkezini yakalayan bir delik oluşturmak için Daire ve Orta Nokta Yakalama araçlarını kullanın.

Video: Teknik Resmin Merkezini Yakalayan bir Dairenin Çizilmesi

Orta nokta yakalama
Daire
Fazla çizgileri silin. Birden çok çizgi seçmek için Ctrl tuşunu basılı tutun ve Delete tuşuna basın.

Gizli delikleri göstermek için çizgi stillerini değiştirin. Çizgileri kesintisiz stilden kesikli çizgi stiline dönüştürmek için Çizgi Stili aracını kullanın.

Görev kategorilerine geri dön

Ön görünümü ve üst görünümü yansıtarak sağ görünüm oluşturma

Önce (ön ve üst görünümler) Sonra (ön, üst ve sağ görünümler)
Görevler Çözümler
Sağ görünümü ön ve üst görünümlerle hizalayın. Yansıtma çizgileri olarak yatay sonsuz çizgileri kullanın.

Teknik resim görünümünün dikey kenarlarını oluşturun. Objeleri Döndür aracıyla yansıtma çizgilerini (üst görünümden) -90° döndürün.

Video: Objelerin Döndürülmesi



Fazla çizim objelerini silin. Objeleri Buda aracını dışarıdan kırp, toplu kırpma ve köşe seçenekleriyle kullanın.
Dışarıdan kırp Toplu kırpma Köşe
Gizli delikleri göstermek için çizgi stillerini değiştirin. Çizgileri kesintisiz stilden kesikli çizgi stiline dönüştürmek için Çizgi Stili aracını kullanın.
Görev kategorilerine geri dön

Üst görünüme yuva ekleme

Önce (üst görünüm) Sonra (üst görünüm)
Görevler Çözümler
Görünümdeki yuvayı ortalayın. Yatay ve dikey yardımcı çizgiler oluşturmak için Merkez çizgisi aracını kullanın.

Yuvanın yatay kenarlarını oluşturun. Merkez çizgilerini ötelemek için Objeleri Ötele aracını kullanın.

Fazla çizim objelerini silin. Objeleri Buda aracını toplu kırpma seçeneğiyle kullanın.

Yuvayı çevrelemek için bir yay oluşturun. Teğet Yay aracını kullanın.

Fazla çizim objelerini silin. Objeleri Buda aracını toplu kırpma seçeneğiyle kullanın.

Teknik resim görünümünün karşı kenarında simetrik bir yuva oluşturun. Teknik resim görünümünün karşı kenarının dikey kenarını silin (yuva için boşluk oluşturmak üzere) ve ardından yuvayı aynalamak için Objeleri Aynala aracını kullanın.

Video: Objelerin Aynalanması



Görev kategorilerine geri dön

Ön ve sağ görünüme yuvayı yansıtma

Önce (ön, üst ve sağ görünümler)
Sonra (ön, üst ve sağ görünümler)
Görevler Çözümler
Üst görünümden yuvayı ön görünümle hizalayın. Yansıtma çizgileri olarak dikey sonsuz çizgileri kullanın.

Gizli yuvaları göstermek için çizgi stillerini değiştirin. Çizgileri kesintisiz stilden kesikli çizgi stiline dönüştürmek için Çizgi Stili aracını kullanın.

Fazla çizim objelerini silin. Objeleri Buda aracını toplu kırpma seçeneğiyle kullanın.

Üst görünümden yuvayı sağ görünümle hizalayın. Yansıtma çizgileri olarak yatay sonsuz çizgiler çizin ve ardından Objeleri Döndür aracıyla çizgileri -90° döndürün.

Video: Yansıtma Çizgilerini Döndürme

Fazla çizim objelerini silin. Objeleri Buda aracını toplu kırpma seçeneğiyle kullanın.

Görev kategorilerine geri dön

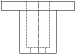
Ön görünümden kesit görünümü oluşturma

Önce (ön görünüm) Sonra (kesit görünümü)
Görevler Çözümler
Çapraz kesit oluşturmak için teknik resim görünümündeki fazla çizgiyi silin. Objeleri Buda aracını toplu kırpma seçeneğiyle kullanın.

Gizli delik ve yuvaların gösterilmesi için çizgi stillerini değiştirin. Çizgileri kesintisiz stilden kesikli çizgi stiline dönüştürmek için Çizgi Stili aracını kullanın.

Teknik resim görünümünün katı alanlarını göstermek için tarama çoğaltması oluşturun. Çapraz çizgi deseni kesitleri uygulamak için Alan Tara/Doldur aracını kullanın.

Video: Çapraz Çizgi Deseni Kesitlerinin Uygulanması



Görev kategorilerine geri dön

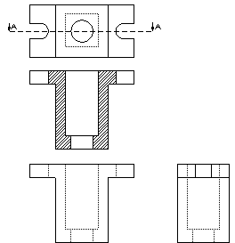
3B modelden Teknik Resim Oluşturun

Bir 3B modelle aynı teknik resmi iki adımda oluşturabilirsiniz.



Görevler Çözümler
Ön, üst ve sağ görünümleri oluşturun. Yeni bir teknik resim çalışma sayfasında içinde, Teknik Resim Araç Çubuğu görüntülenirken Standart 3 Görünüm öğesini seçin ve Standart 3 Görünüm PropertyManager'ında gözatarak parça belgesini bulun.
Kesit görünümü oluşturun. Teknik resim belgesinde, üst görünümden bir kesit görünümü oluşturmak için Kesit Görünümü aracını kullanın. Kesit görünümlerine otomatik olarak tarama uygulanır.


Bu başlık hakkında geribildirimde bulunun

SOLIDWORKS; dokümantasyonun sunumu, doğruluğu ve bütünlüğü hakkında geribildiriminizi almaktan memnuniyet duyar. Bu başlık ile ilgili yorum ve önerilerinizi, aşağıdaki formu kullanarak doğrudan dokümantasyon takımımıza yollayın. Dokümantasyon takımı teknik destek sorularına yanıt veremez. Teknik destek ile ilgili bilgiler için buraya tıklayın.

* Gerekli

 
*Email:  
Konu:   Yardım Başlıkları Hakkında Geribildirim
Sayfa:   2B Drafta Genel Bakış
*Yorum:  
*   Kişisel Bilgilerimin Dassault Systèmes tarafından kullanılacağının belirtildiği gizlilik politikasını okuduğumu ve kabul ettiğimi onaylıyorum

Yazdırma Başlığı

Yazdırılacak içeriğin kapsamını seçin:

x

Internet Explorer 7'den daha eski bir tarayıcı sürümünü kullandığınızı tespit ettik. Optimize edilmiş görünüm için tarayıcınızı Internet Explorer 7 veya daha yenisine yükseltmenizi öneririz.

 Bu mesajı bir daha asla gösterme
x

Web Yardım İçerik Sürümü: SOLIDWORKS 2014 SP05

SOLIDWORKS içindeki Web yardımını devre dışı bırakmak ve onun yerine yerel yardımı kullanmak için Yardım > SOLIDWORKS Web Yardımını Kullan öğelerine tıklayın.

Web yardımı arabirimi ve araması ile ilgili karşılaştığınız sorunları lütfen yerel destek temsilcinize bildirin. Yardım başlıkları hakkında ayrı ayrı geri bildirimde bulunmak için ilgili başlığın sayfasından "Bu başlık hakkında geribildirim" bağlantısına tıklayın.