Hide Table of Contents

DimXpert Datum

Use the DimXpert Datum tool to define datum features.

To access this tool:

Click Datum (DimXpert toolbar) or Tools > DimXpert > Datum.

The tool supports these feature types:

  • Boss
  • Cylinder
  • Notch
  • Plane
  • Simple Hole
  • Slot
  • Width

Most DimXpert Datum Feature PropertyManager options are the same as the non-DimXpert Datum Feature PropertyManager. Differences are noted below.

Label Settings

When applying or editing a datum, enter a datum Label and assign a leader type.

Specify the starting label under Tools > Options > Document Properties > Drafting Standard > Annotations > Datums.

When entering datum labels, the inputs are checked for syntax per the active drawing standard. For example:

  • Entering a numeric generates a warning message for all standards.
  • Entering an I, O, or Q generates a warning message when in ANSI.
  • Entering AA generates a warning message when in ISO.

Leader

datum.png Surface Attaches the datum triangle to a feature's surface.

Directed Leader Attaches the datum triangle to a directed leader.

Dimension Attaches the datum triangle to a dimension or a feature control frame.



Gtol Attaches the datum triangle to a feature control frame.

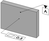
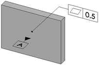
Datum Examples by Feature

Boss
Cylinder
Notch
Plane
Simple Hole

Slot
Width

Applying a Datum Feature Symbol

To apply a datum feature symbol:

  1. Click Datum (DimXpert toolbar) or Tools > DimXpert > Datum.
  2. Select the face of the datum feature and click in the graphics area to place the datum feature symbol.

    If the selected face can be used to define more than one feature type, use the feature selector to choose the required feature.

  3. Click PM_OK.gif.


Provide feedback on this topic

SOLIDWORKS welcomes your feedback concerning the presentation, accuracy, and thoroughness of the documentation. Use the form below to send your comments and suggestions about this topic directly to our documentation team. The documentation team cannot answer technical support questions. Click here for information about technical support.

* Required

 
*Email:  
Subject:   Feedback on Help Topics
Page:   DimXpert Datum
*Comment:  
*   I acknowledge I have read and I hereby accept the privacy policy under which my Personal Data will be used by Dassault Systèmes

Print Topic

Select the scope of content to print:

x

We have detected you are using a browser version older than Internet Explorer 7. For optimized display, we suggest upgrading your browser to Internet Explorer 7 or newer.

 Never show this message again
x

Web Help Content Version: SOLIDWORKS 2015 SP05

To disable Web help from within SOLIDWORKS and use local help instead, click Help > Use SOLIDWORKS Web Help.

To report problems encountered with the Web help interface and search, contact your local support representative. To provide feedback on individual help topics, use the “Feedback on this topic” link on the individual topic page.