Expand EinführungEinführung
Expand VerwaltungVerwaltung
Expand BenutzeroberflächeBenutzeroberfläche
Expand Grundlagen von SOLIDWORKSGrundlagen von SOLIDWORKS
Expand Umsteigen von 2D auf 3DUmsteigen von 2D auf 3D
Expand BaugruppenBaugruppen
Expand CircuitWorksCircuitWorks
Expand KonfigurationenKonfigurationen
Expand SOLIDWORKS CostingSOLIDWORKS Costing
Expand Design CheckerDesign Checker
Expand Konstruktionsstudien in SOLIDWORKSKonstruktionsstudien in SOLIDWORKS
Collapse Detaillierung und ZeichnungenDetaillierung und Zeichnungen
Detaillierung - Übersicht
Festlegen der Detaillierungsoptionen
Modellelemente
PropertyManager Modellelemente
Expand eDrawings-KennzeichnungeneDrawings-Kennzeichnungen
Expand StilStil
Hinzufügen oder Aktualisieren eines Stils
Expand BeschriftungenBeschriftungen
Expand TabellenTabellen
Expand StücklisteStückliste
Expand ZeichennormenZeichennormen
Expand DruckeinstellungenDruckeinstellungen
Collapse ZeichnungenZeichnungen
Expand DFMXpressDFMXpress
Expand DriveWorksXpressDriveWorksXpress
Expand FloXpressFloXpress
Expand SLDXML-DatenaustauschSLDXML-Datenaustausch
Expand Importieren und ExportierenImportieren und Exportieren
Expand ModellanzeigeModellanzeige
Expand GussformkonstruktionGussformkonstruktion
Expand BewegungsstudienBewegungsstudien
Expand Teile und FeaturesTeile und Features
Expand LeitungsführungLeitungsführung
Expand BlechBlech
Expand SimulationSimulation
Expand SimulationXpressSimulationXpress
Expand SkizzierenSkizzieren
Expand Sustainability ProdukteSustainability Produkte
Expand SOLIDWORKS MBDSOLIDWORKS MBD
Expand SOLIDWORKS UtilitiesSOLIDWORKS Utilities
Expand ToleranzenToleranzen
Expand TolAnalystTolAnalyst
Expand ToolboxToolbox
Expand SchweißkonstruktionenSchweißkonstruktionen
Expand Workgroup PDMWorkgroup PDM
Expand ProblembehebungProblembehebung
Glossar
Inhaltsverzeichnis ausblenden

Verschieben und Kopieren von Bemaßungen

Sobald Bemaßungen in einer Zeichnung angezeigt werden, können Sie diese innerhalb einer Ansicht oder in eine andere Ansicht verschieben. Wenn Sie die Bemaßung von einer Stelle an eine andere ziehen, wird die Bemaßung wieder passend am Modell befestigt. Bemaßungen können nur in eine Ansicht verschoben oder kopiert werden, deren Ausrichtung für diese Bemaßung passend ist.

Video: Verschieben und Kopieren von Bemaßungen

Verschieben einer Bemaßung innerhalb der Ansicht:

Ziehen Sie die Bemaßung an die neue Stelle.

Verschieben einer Bemaßung auf ein anderes Feature der gleichen Größe in der Ansicht:

Wählen Sie die Bemaßung aus, ziehen und legen Sie den Pfeilziehgriff auf einer anderen Kante ab.

Diese Methode funktioniert nur bei Radius-, Durchmesser- und Fasenbemaßungen.
switch_same_sized_features_01.gif

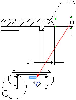
Verschieben oder Kopieren von Bemaßungen von einer Ansicht in eine andere:

Halten Sie die Taste Umschalt (zum Verschieben) oder die Taste Strg (zum Kopieren) gedrückt, während Sie die Bemaßungen in eine andere Ansicht ziehen.

Verwenden Sie diese Methode zur Erstellung mehrerer steuernder Bemaßungen.
move_copy_dims.gif

Verschieben oder Kopieren mehrerer Bemaßungen gleichzeitig:

Halten Sie beim Auswählen die Strg-Taste gedrückt.

Drehen einer Bemaßung:

Ziehen Sie den Griff, der dem Bemaßungstext am nächsten ist.

Die Bemaßung wird in kleinen Schritten gedreht.
rotate_dimension.gif

Hinweisliniensteuerung für gleich große Features

Sie können die Hinweislinien von Radial-, Durchmesser- oder Fasenbemaßungen oder die Hinweislinien von Bohrungsbeschreibungen innerhalb gleich großer Features in einer Zeichenansicht verschieben.

Um die Hinweislinienendpunkte bei gleich großen Features zu verschieben, ziehen Sie die Endpunkte von einem Feature in ein anderes.



Feedback zu diesem Thema geben

SOLIDWORKS ist dankbar für Ihr Feedback zur Präsentation, Genauigkeit und Vollständigkeit der Dokumentation. Verwenden Sie das nachstehende Formular, um Ihre Kommentare und Vorschläge zu diesem Thema direkt an unser Dokumentations-Team zu senden. Das Dokumentations-Team kann keine Fragen für den technischen Support beantworten. Klicken Sie hier für Informationen zum technischen Support.

* Erforderlich

 
*E-Mail:  
Betreff:   Feedback zu Hilfethemen
Seite:   Verschieben und Kopieren von Bemaßungen
*Kommentar:  
*   Ich bestätige, dass ich die Datenschutzerklärung, unter der meine personenbezogenen Daten durch Dassault Systèmes verarbeitet werden, gelesen habe und akzeptiere.

Thema drucken

Wählen Sie aus, was gedruckt werden soll:

x

Sie verwenden einen Browser, der älter als Internet Explorer 7 ist. Für eine optimierte Anzeige sollten Sie Ihren Browser auf Internet Explorer 7 oder höher aktualisieren.

 Diese Meldung nicht mehr anzeigen
x

Web-Hilfe Inhaltsversion: SOLIDWORKS 2015 SP05

Um die Web-Hilfe in SOLIDWORKS zu deaktivieren und stattdessen die lokale Hilfe zu verwenden, klicken Sie auf Help > SOLIDWORKS Web-Hilfe verwenden.

Um Probleme mit der Oberfläche und der Suche der Web-Hilfe zu melden, wenden Sie sich an Ihren Support vor Ort. Um Feedback zu einzelnen Hilfethemen zu geben, verwenden Sie den Link “Feedback zu diesem Thema” auf der entsprechenden Themenseite.