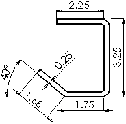
Celý model
|
Vloží položky modelu pro celý model.

|
Vybraný prvek
|
Vloží položky modelu pro prvek, který vyberete v grafické ploše.

|
Vybraná součást (jen výkresy sestavy) |
Vloží položky modelu pro součást, který vyberete v grafické ploše.

|
Jen sestavy (jen výkresy sestavy) |
Vloží položky modelu pouze pro prvky sestavy. Můžete například vložit kóty, které jsou přítomny jen v sestavě, jako například vazby Vzdálenost a Úhel.

|
Importovat položky do všech pohledů
|
Vloží položky modelu do všech pohledů výkresu na listu. Když je výběr této možnosti zrušen, musíte zvolit pohledy výkresu, do kterých se mají importovat položky modelu.
|
Cílový pohled(y)
|
Zde jsou vypsány pohledy výkresu, do nichž se má vložit popis modelu. Tato možnost je k dispozici, pokud je Importovat položky do všech pohledů zrušeno.
|