Expand ВведениеВведение
Expand АдминистрацияАдминистрация
Expand Интерфейс пользователяИнтерфейс пользователя
Collapse Основные принципы SOLIDWORKSОсновные принципы SOLIDWORKS
Основные понятия
Expand Справка, поиск и веб-ресурсыСправка, поиск и веб-ресурсы
Expand Основные действия с документамиОсновные действия с документами
Collapse Обзор параметров SOLIDWORKSОбзор параметров SOLIDWORKS
Доступ к диалоговому окну Параметры
Expand Настройки пользователяНастройки пользователя
Collapse Свойства документаСвойства документа
Свойства документа – Чертежный стандарт
Collapse Свойства документа - ПримечанияСвойства документа - Примечания
Свойства документа - Границы
Expand Свойства документа - РазмерыСвойства документа - Размеры
Свойства документа - Осевые линии/указатели центра
Параметры DimXpert - Чертежи
Свойства документа - Виртуальная резкость отображения
Expand Свойства документа – ТаблицыСвойства документа – Таблицы
Expand Свойства документа — видыСвойства документа — виды
Свойства документа - Оформление
Свойства документа — чертежные листы
Свойства документа - Масштабная сетка/Привязать
Свойства документа - Единицы изменения
Свойства документа - Тип линии
Свойства документа - Толщина линии
Свойства документа - Отображение модели
Свойства документа - Свойства материалов
Свойства документа - Свойства изображения
Свойства документа - Листовой металл
Свойства документа — Сварные детали
Свойства документа - Отображение плоскости
Свойства документа - конфигурации
Expand Свойства документа - DimXpertСвойства документа - DimXpert
Expand ОтобразитьОтобразить
Expand ВыборВыбор
Expand Свойства файлаСвойства файла
Expand Инструмент измеренияИнструмент измерения
Expand ДатчикиДатчики
Expand УравненияУравнения
Зеркальное отражение и противолежащая версия: устранение противоречий
Инструменты проектирования для разных индустрий
Обзор Xperts
Приложения
Expand Связь и внедрение объектовСвязь и внедрение объектов
Expand Запись и выполнение макросаЗапись и выполнение макроса
Интерфейс программирования приложений (API) SOLIDWORKS
Expand  SOLIDWORKS Task Scheduler SOLIDWORKS Task Scheduler
Expand ЗадачиЗадачи
Expand ПараметрыПараметры
О SOLIDWORKS
Expand Переход из  2D в 3DПереход из 2D в 3D
Expand СборкиСборки
Expand CircuitWorksCircuitWorks
Expand КонфигурацииКонфигурации
Expand SOLIDWORKS CostingSOLIDWORKS Costing
Expand Design CheckerDesign Checker
Expand Исследования проектирования в SOLIDWORKSИсследования проектирования в SOLIDWORKS
Expand Чертежи и оформлениеЧертежи и оформление
Expand DFMXpressDFMXpress
Expand DriveWorksXpressDriveWorksXpress
Expand FloXpressFloXpress
Expand Обмен данными SLDXMLОбмен данными SLDXML
Expand Импорт и экспортИмпорт и экспорт
Expand Отображение моделиОтображение модели
Expand Проектирование литейной формыПроектирование литейной формы
Expand Исследования движенияИсследования движения
Expand Детали и элементыДетали и элементы
Expand МаршрутМаршрут
Expand Листовой металлЛистовой металл
Expand SimulationSimulation
Expand SimulationXpressSimulationXpress
Expand Создание эскизаСоздание эскиза
Expand SOLIDWORKS MBD SOLIDWORKS MBD
Expand SOLIDWORKS UtilitiesSOLIDWORKS Utilities
Expand SOLIDWORKS SustainabilitySOLIDWORKS Sustainability
Expand ОтклоненияОтклонения
Expand TolAnalystTolAnalyst
Expand ToolboxToolbox
Expand Сварные деталиСварные детали
Expand Workgroup PDMWorkgroup PDM
Expand Устранение неполадокУстранение неполадок
Глоссарий
Скрыть содержание

Свойства документа - Позиции

На уровне документа можно задать параметры черчения для позиций. Можно изменить эти настройки в окне PropertyManager. Доступно для документов всех типов.

Чтобы открыть эту страницу, выполните следующее действие.

Откройте чертеж, нажмите Параметры (панель инструментов "Стандартная"), перейдите на вкладку Свойства документов и выберите Примечания > Позиции.

Общий чертежный стандарт

Общий чертежный стандарт Заимствован из выбранных настроек страницы Чертежный стандарт.

Базовый стандарт позиций

Стандарт базовых позиций
Выберите стандарт.
  • ANSI
  • ISO
  • DIN
  • JIS
  • BSI
  • ГОСТ
  • GB

Стиль выноски

Стиль выноски Выбрать: стиль.
Толщина выноски Выбрать: толщину или выберите параметр Настроенный пользователем размер и введите значение толщины.

Стиль рамки

Стиль рамки Устанавливает стиль формы, окружающей текст.
Толщина рамки Выбрать: толщину или выберите параметр Настроенный пользователем размер и введите значение толщины.

Текст

Шрифт

Нажмите, чтобы изменить шрифт.

Верхняя Для верхней части позиции Разделительная окружность или для позиций остальных типов выберите значения следующих параметров:
  • Текст
  • Номер позиции
  • Количество
  • Свойства пользователя
Верхний применяется к единичной позиции или позициям "одна над другой".
Нижняя Для нижней части позиции Разделительная окружность выберите значения следующих параметров:
  • Текст
  • Номер позиции
  • Количество
  • Свойства пользователя

Отображение выноски

Отображение выноски Выберите из:
  • Прямая
  • Изогнутая. Вставляет горизонтальную полку в выноску, выровненную по тексту. Выберите:
    • Использовать длину выноски документа. Извлекает длину выноски из настроек страницы Примечания.
    • Длина выноски. Позволяет ввести значение длины выпрямленной части выноски.

Слой

Слой
Выберите слой.
Сначала требуется создать слои для чертежа, прежде чем их можно будет выбрать для свойств документа.
Чтобы применить данные настройки слоя, в чертежном виде документа требуется выбрать значение По стандарту для параметра Слой (панель инструментов "Слой").

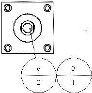
Одна позиция

Стиль Выберите значение Нет, чтобы текст позиции отображался без рамки, или выберите форму позиции. По умолчанию используется Круглая.
Скругленный Треугольный
Шестиугольник Рамка
Ромб Пятиугольник
Разделительная окружность Флаг - Пятиугольный
Флаг - Треугольник Подчеркнутый
Квадратный Квадрат/окружность
Проверить Нет
Размер Выберите размер (указанное количество символов), Тугая посадка (автоматически корректируется по тексту) или Настроенный пользователем размер (где можно указать размер позиции).

Группа позиций

Стиль Выберите форму позиции.
Размер

Выберите размер (указанное количество символов), Тугая посадка (автоматически корректируется по тексту) или Настроенный пользователем размер (где можно указать размер позиции).

Компоновка авто-позиций

Выберите компоновку:
  • Кнопка balloon_auto_square.png Квадрат
  • Кнопка balloon_auto_bottom.png Cнизу
  • Кнопка balloon_auto_left.png Слева
  • Кнопка balloon_auto_circular.png Круг
  • Кнопка balloon_auto_top.png Сверху
  • Кнопка balloon_auto_right.png Справа
Квадратная компоновка


Оставьте отзыв об этом разделе

SOLIDWORKS благодарит Вас за отзыв по поводу представления, точности и полноты документации. Воспользуйтесь формой ниже, чтобы отправить свои комментарии и предложения о данном разделе справки в Отдел документации. Отдел документации не предоставляет ответы на вопросы по технической поддержке. Нажмите здесь для получения информации о технической поддержке.

* Обязательно

 
*Электронная почта:  
Тема:   Отзывы по поводу разделов Справки
Страница:   Свойства документа - Позиции
*Отзыв:  
*   Я подтверждаю, что прочитал(а) и принимаю положения политики конфиденциальности, в соответствии с которыми Dassault Systèmes будет использовать мои персональные данные.

Печать разделов

Выберите содержимое для печати:

x

Вы используете более раннюю версию браузера, чем Internet Explorer 7. Для оптимизации отображения рекомендуется обновить Ваш браузер до версии Internet Explorer 7 или новее.

 Больше не отображать это сообщение
x

Версия содержимого веб-справки: SOLIDWORKS 2016 SP05

Чтобы отключить веб-справку в программе SOLIDWORKS и использовать локальную версию справки, нажмите Справка > Использовать веб-справку по SOLIDWORKS .

По проблемам, связанным с интерфейсом и поиском по веб-справке, обращайтесь к местному представителю службы поддержки. Чтобы оставить отзыв по отдельным темам справки, воспользуйтесь ссылкой "Отзыв об этом разделе" на странице нужного раздела.