Скрыть содержание

База DimXpert

Используйте инструмент DimXpert База для определения элементов базы.

Чтобы открыть этот инструмент:

Нажмите База (панель инструментов DimXpert) или выберите Инструменты > DimXpert > База.

Инструмент поддерживает следующие элементы:

  • Бобышка
  • Цилиндр
  • Канавка
  • Плоскость
  • Простое отверстие
  • Прорезь
  • Ширина

Большинство параметров в окне Базовая поверхность PropertyManager в DimXpert аналогичны параметрам в окне Базовая поверхность PropertyManager, не принадлежащем DimXpert. Их различия перечислены ниже.

Настройки метки

При применении или редактировании базы введите Метка базы и назначьте тип выноски.

Укажите начальную метку в разделе Инструменты > Параметры > Свойства документа > Чертежный стандарт > Примечания > Базы .

При вводе меток базы проверяется синтаксис введенных значений для стандарта активного чертежа. Например:

  • Ввод цифры приводит к появлению предупреждающего сообщения для всех стандартов.
  • При вводе I, O или Q появляется предупреждающее сообщение (в стандарте ANSI).
  • Ввод AA приводит к появлению предупреждающего сообщения для стандарта ISO.

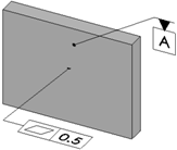
Выноски

Поверхность Прикрепление треугольника к поверхности элемента.

Выноска с направлением Прикрепление треугольника к выноске с направлением.

Размеры Прикрепление треугольника к размеру или рамке управления элементом.



Геометрические допуски Прикрепление треугольника к рамке управления элементом.

Примеры элементов базы

Бобышка
Цилиндр
Канавка
Плоскость
Простое отверстие

Прорезь
Ширина

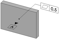
Применение обозначения базовой поверхности

Чтобы вставить обозначение базы:

  1. Нажмите База (панель инструментов DimXpert toolbar) или Инструменты > DimXpert > База.
  2. Выберите грань для базового элемента и нажмите в графической области, чтобы разместить обозначение базы.
    Если выбранную грань можно использовать для определения нескольких элементов, для выбора необходимого элемента используйте панель выбора элементов.
  3. Нажмите PM_OK.gif.


Оставьте отзыв об этом разделе

SOLIDWORKS благодарит Вас за отзыв по поводу представления, точности и полноты документации. Воспользуйтесь формой ниже, чтобы отправить свои комментарии и предложения о данном разделе справки в Отдел документации. Отдел документации не предоставляет ответы на вопросы по технической поддержке. Нажмите здесь для получения информации о технической поддержке.

* Обязательно

 
*Электронная почта:  
Тема:   Отзывы по поводу разделов Справки
Страница:   База DimXpert
*Отзыв:  
*   Я подтверждаю, что прочитал(а) и принимаю положения политики конфиденциальности, в соответствии с которыми Dassault Systèmes будет использовать мои персональные данные.

Печать разделов

Выберите содержимое для печати:

x

Вы используете более раннюю версию браузера, чем Internet Explorer 7. Для оптимизации отображения рекомендуется обновить Ваш браузер до версии Internet Explorer 7 или новее.

 Больше не отображать это сообщение
x

Версия содержимого веб-справки: SOLIDWORKS 2016 SP05

Чтобы отключить веб-справку в программе SOLIDWORKS и использовать локальную версию справки, нажмите Справка > Использовать веб-справку по SOLIDWORKS .

По проблемам, связанным с интерфейсом и поиском по веб-справке, обращайтесь к местному представителю службы поддержки. Чтобы оставить отзыв по отдельным темам справки, воспользуйтесь ссылкой "Отзыв об этом разделе" на странице нужного раздела.