Expand IntroducciónIntroducción
Expand AdministraciónAdministración
Expand Interfaz de usuarioInterfaz de usuario
Collapse Conceptos básicos de SOLIDWORKSConceptos básicos de SOLIDWORKS
Conceptos básicos
Expand Ayuda, búsqueda y recursos WebAyuda, búsqueda y recursos Web
Expand Conceptos básicos de documentosConceptos básicos de documentos
Collapse Perspectiva general de las opciones de SOLIDWORKSPerspectiva general de las opciones de SOLIDWORKS
Expand VisualizarVisualizar
Expand SelecciónSelección
Expand Propiedades de archivoPropiedades de archivo
Expand Herramienta MedirHerramienta Medir
Expand SensoresSensores
Expand EcuacionesEcuaciones
Desambiguación en la creación de simetrías y versiones simétricas
Herramientas de diseño específicas para la industria
Perspectiva general de Xperts
Complementos
Expand OLE (vinculación e incrustación de objetos)OLE (vinculación e incrustación de objetos)
Expand Grabar y ejecutar macrosGrabar y ejecutar macros
API de SOLIDWORKS
Expand  Programador de tareas de SOLIDWORKS Programador de tareas de SOLIDWORKS
Expand TareasTareas
Expand OpcionesOpciones
Acerca de SOLIDWORKS
Expand Migrar de 2D a 3DMigrar de 2D a 3D
Expand EnsamblajesEnsamblajes
Expand CircuitWorksCircuitWorks
Expand ConfiguracionesConfiguraciones
Expand SOLIDWORKS CostingSOLIDWORKS Costing
Expand Design CheckerDesign Checker
Expand Estudios de diseño en SOLIDWORKSEstudios de diseño en SOLIDWORKS
Expand Dibujos y documentaciónDibujos y documentación
Expand DFMXpressDFMXpress
Expand DriveWorksXpressDriveWorksXpress
Expand FloXpressFloXpress
Expand Intercambio de datos SLDXMLIntercambio de datos SLDXML
Expand Importación y exportaciónImportación y exportación
Expand Visualización de modeloVisualización de modelo
Expand Diseño de moldesDiseño de moldes
Expand Estudios de movimientoEstudios de movimiento
Expand Piezas y operacionesPiezas y operaciones
Expand RoutingRouting
Expand Chapa metálicaChapa metálica
Expand SolidWorks SimulationSolidWorks Simulation
Expand SimulationXpressSimulationXpress
Expand CroquizadoCroquizado
Expand SOLIDWORKS MBD SOLIDWORKS MBD
Expand SOLIDWORKS UtilitiesSOLIDWORKS Utilities
Expand SOLIDWORKS SustainabilitySOLIDWORKS Sustainability
Expand ToleranciasTolerancias
Expand TolAnalystTolAnalyst
Expand ToolboxToolbox
Expand Piezas soldadasPiezas soldadas
Expand Workgroup PDMWorkgroup PDM
Expand Solución de problemasSolución de problemas
Glosario
Ocultar tabla de contenido

Propiedades de documento - Globos

Puede especificar configuraciones de dibujo de nivel de documento para anotaciones de globos. Puede reemplazar estos parámetros en el PropertyManager. Disponible para todos los tipos de documentos.

Para abrir esta página:

Con un dibujo abierto, haga clic en Opciones (barra de herramientas Estándar), seleccione la pestaña Propiedades de documento y, por último, seleccione Anotaciones > Globos.

Estándar general de dibujo

Estándar general de dibujo Heredado de la configuración de página Estándar de dibujo seleccionada.

Estándar básico de globos

Estándar básico de notas
Seleccione un estándar:
  • ANSI
  • ISO
  • DIN
  • JIS
  • BSI
  • GOST
  • GB

Estilo de líneas indicativas

Estilo de línea indicativa Seleccione: un estilo.
Grosor de línea indicativa Seleccione: un espesor o elija Tamaño personalizado e introduzca uno.

Estilo de marco

Estilo de marco Configura el estilo para la forma alrededor del texto.
Grosor de marco Seleccione: un espesor o elija Tamaño personalizado e introduzca uno.

Texto

Fuente

Haga clic para modificar la fuente.

Superior Para la sección superior de globos de línea de partición circular o para todos los tipos de globo, seleccione:
  • Texto
  • Número de artículo
  • Cantidad
  • Propiedades personalizadas
Superior se aplica a globos únicos y en pila.
Inferior Para la sección inferior de los globos de línea de partición circular, seleccione:
  • Texto
  • Número de artículo
  • Cantidad
  • Propiedades personalizadas

Visualización de líneas indicativas

Visualización de líneas indicativas Seleccione entre:
  • Recta
  • Plegado Inserta un pliegue horizontal en la línea indicativa que está alineada con el texto. Seleccione una de las siguientes opciones:
    • Usar longitud de línea indicativa del documento. Deriva la longitud de la línea indicativa desde la configuración de la página Anotaciones.
    • Longitud de línea indicativa. Permite introducir la longitud de la sección no acodada de la línea indicativa.

Capa

Capa
Seleccione una capa.
Primero debe crear capas para el dibujo antes de que pueda seleccionarlas para propiedades de documentos.
Debe seleccionar Por estándar para Capa (barra de herramientas Capa) en el documento de vista de dibujo para aplicar esta configuración de capa.

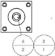
Globo único

Estilo Seleccione Ninguno para mostrar el texto del globo sin borde o seleccionar una forma de globo. El valor predeterminado es Circular
Circular Triangular
Hexágono Cuadro
Rombo Pentágono
Línea de partición circular Bandera - 5 lados
Bandera - Triángulo Subrayado
Cuadrado Cuadrado Círculo
Inspeccionar Ninguno
Tamaño Seleccione un tamaño (un número de caracteres determinado), Adaptado al espacio (se ajusta automáticamente al texto) o Tamaño personalizado (usted define el tamaño del globo).

Globos en pila

Estilo Seleccione una forma de globo.
Tamaño

Seleccione un tamaño (un número de caracteres determinado), Adaptado al espacio (se ajusta automáticamente al texto) o Tamaño personalizado (defina el tamaño del globo).

Diseño de globos automáticos

Seleccione un diseño:
  • Botón balloon_auto_square.png Cuadrado
  • Botón balloon_auto_bottom.png Inferior
  • Botón balloon_auto_left.png Izquierda
  • Botón balloon_auto_circular.png Circular
  • Botón balloon_auto_top.png Superior
  • Botón balloon_auto_right.png Derecha
Presentación cuadrada


Proporcione comentarios sobre este tema

SOLIDWORKS agradece sus comentarios acerca del formato, la precisión y la rigurosidad de la documentación. Utilice el siguiente formulario para enviar comentarios y sugerencias sobre este tema directamente al equipo de documentación. Nota: el equipo de documentación no puede responder a preguntas técnicas. Haga clic aquí para ver información sobre soporte técnico.

* Obligatorio

 
*Correo electrónico:  
Asunto:   Comentarios sobre los temas de la ayuda
Página:   Propiedades de documento - Globos
*Comentario:  
*   Por la presente confirmo que he leído y acepto la política de privacidad en virtud de la cual Dassault Systèmes usará mis Datos personales

Imprimir tema

Seleccione el ámbito del contenido que desee imprimir:

x

Hemos detectado que la versión de su explorador es anterior a Internet Explorer 7. Para una visualización óptima, le recomendamos que actualice a Internet Explorer 7 o versión superior.

 No volver a mostrar este mensaje
x

Versión del contenido de la ayuda web: SOLIDWORKS 2016 SP05

Para desactivar la ayuda web desde SOLIDWORKS y utilizar la ayuda local en su lugar, haga clic en Ayuda > Usar la ayuda web de SOLIDWORKS.

Para informar sobre problemas detectados con la interfaz y la función de búsqueda de la ayuda web, póngase en contacto con el representante local de soporte. Si desea proporcionar comentarios sobre temas individuales, utilice el vínculo “Comentarios sobre este tema” en la página del tema en cuestión.