Ocultar Sumário

Visão geral do rascunho 2D

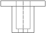
Este tópico lista as tarefas típicas da criação de rascunhos em 2D e as soluções do SOLIDWORKS aplicáveis. As tarefas e soluções mostram como criar o seguinte desenho.



Veja como criar este desenho a partir de um modelo 3D.

As ferramentas de detalhe e anotação não são usadas nesta visão geral. Para obter um tutorial passo a passo sobre as ferramentas de detalhamento e anotação do SOLIDWORKS, consulte o tutorial de desenhos avançado, clicando em Ajuda > Tutoriais do SOLIDWORKS > Todos os tutoriais do SOLIDWORKS.

Categorias de tarefas

Criar uma vista frontal

Tarefas Soluções
Criar as arestas horizontais da vista de desenho. Esboce a linha horizontal inferior com a ferramenta Linha e use a ferramenta Offset de entidades para criar arestas adicionais.

Criar as arestas verticais da vista de desenho. Esboce uma linha de simetria com a ferramenta Linha de centro

e use a ferramenta Offset de entidades para o offset da linha de centro em duas direções.

Excluir as entidades de esboço excedentes. Use a ferramenta Aparar entidades
com as opções de aparagem ativa e de canto.
Alterar os estilos de linhas para indicar os furos ocultos. Use a ferramenta Estilo de linha para transformar as linhas de sólidas em tracejadas.
Voltar às categorias de tarefas

Criar uma vista superior projetando uma vista frontal

Antes (vista frontal) Depois (vistas frontal e superior)
Tarefas Soluções
Alinhar a vista superior com a vista frontal. Esboce linhas infinitas verticais como linhas de projeção com a ferramenta Linha .

Vídeo: Esboçar linhas infinitas verticais como linhas de projeção



Criar as arestas horizontais da vista de desenho. Esboce uma linha de simetria horizontal com a ferramenta Linha de centro para definir o centro da vista de desenho. Faça offset da linha de centro com a ferramenta Offset de entidades para criar arestas adicionais para a vista de desenho.

Excluir as entidades de esboço excedentes. Use a ferramenta Aparar entidades com as opções de aparagem ativa, de canto e aparar e remover a parte externa.
Aparar e remover a parte externa Canto
Aparagem ativa

Vídeo: Aparar e remover entidades externas

Criar um furo no centro do desenho. Use as ferramentas Círculo e Snap no ponto médio para criar um furo para fazer snap no centro do desenho.

Vídeo: Aplica snap em um círculo para fazer snap no centro do desenho

Snap no ponto médio
Círculo
Excluir excesso de linhas. Pressione a tecla Ctrl para selecionar linhas múltiplas e pressione Delete.

Alterar os estilos de linhas para indicar os furos ocultos. Use a ferramenta Estilo de linha para transformar as linhas de sólidas em tracejadas.

Voltar às categorias de tarefas

Criar uma vista direita projetando uma vista frontal e superior

Antes (vistas frontal e superior) Depois (vistas frontal, superior e direita)
Tarefas Soluções
Alinhar a vista direita com as vistas frontal e superior. Use as linhas infinitas horizontais como linhas de projeção.

Criar as arestas verticais da vista de desenho. Gire as linhas de projeção (da vista superior) -90° com a ferramenta Girar entidades .

Vídeo: Girar entidades



Excluir as entidades de esboço excedentes. Use a ferramenta Aparar entidades com as opções de aparar e remover a parte externa, aparagem ativa e de canto.
Aparar e remover a parte externa Aparagem ativa Canto
Alterar os estilos de linhas para indicar os furos ocultos. Use a ferramenta Estilo de linha para transformar as linhas de sólidas em tracejadas.
Voltar às categorias de tarefas

Adicionar uma ranhura à visão frontal

Antes (vista superior) Depois (vista superior)
Tarefas Soluções
Centralizar a ranhura na vista. Use a ferramenta Linha de centro para criar linhas de construção horizontais e verticais.

Criar as arestas horizontais da ranhura. Use a ferramenta Offset de entidades para fazer offset de linhas de centro.

Excluir as entidades de esboço excedentes. Use a ferramenta Aparar entidades com a opção de aparagem ativa.

Criar um arco para contornar a ranhura. Use a ferramenta Arco tangente .

Excluir as entidades de esboço excedentes. Use a ferramenta Aparar entidades com a opção de aparagem ativa.

Criar uma ranhura simétrica no lado oposto da vista de desenho. Exclua a aresta vertical do lado oposto da vista de desenho (para criar um espaço para a ranhura) e use a ferramenta Espelhar entidades para espelhar a ranhura.

Vídeo: Espelhar entidades



Voltar às categorias de tarefas

Projetar a ranhura às vistas frontal e direita

Antes (vistas frontal, superior e direita)
Depois (vistas frontal, superior e direita)
Tarefas Soluções
Alinhar a ranhura da vista superior com a vista frontal. Use linhas infinitas verticais como linhas de projeção.

Alterar os estilos de linha para indicar as ranhuras ocultas. Use a ferramenta Estilo de linha para transformar as linhas de sólidas em tracejadas.

Excluir as entidades de esboço excedentes. Use a ferramenta Aparar entidades com a opção de aparagem ativa.

Alinhar a ranhura da vista superior com a vista direita. Esboce linhas infinitas horizontais como linhas de projeção e gire-as -90° com a ferramenta Girar entidades .

Vídeo: Girar linhas de projeção

Excluir as entidades de esboço excedentes. Use a ferramenta Aparar entidades com a opção de aparagem ativa.

Voltar às categorias de tarefas

Criar uma vista de seção de uma vista frontal

Antes (vista frontal) Depois (vista de seção)
Tarefas Soluções
Excluir a linha extra da vista de desenho para criar um corte transversal. Use a ferramenta Aparar entidades com a opção de aparagem ativa.

Alterar os estilos de linha para que furos e ranhuras ocultas sejam exibidos. Use a ferramenta Estilo de linha para transformar as linhas de sólidas em tracejadas.

Criar um padrão de hachura para indicar áreas sólidas da vista de desenho. Use a ferramenta Área hachurada/preenchida para aplicar seções de hachura.

Vídeo: Aplicar seções de hachura



Voltar às categorias de tarefas

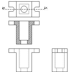
Criar um desenho a partir de um modelo 3D

Com um modelo 3D, é possível criar o mesmo desenho em duas etapas.



Tarefas Soluções
Criar vistas frontal, superior e direita. Em um novo folha de desenho, com a barra de ferramentas Desenho exibida, selecione 3 vistas padrão e procure o documento da peça no PropertyManager 3 vistas padrão .
Criar uma vista de seção. No documento do desenho, use a ferramenta Vista de seção para criar uma vista de seção a partir da vista superior. Hachurado é automaticamente aplicado às vistas de seção.


Envie-nos seus comentários sobre este tópico

O SOLIDWORKS agradece seu feedback sobre a apresentação, precisão e nível de detalhe da documentação. Use o formulário abaixo para enviar comentários e sugestões sobre este tópico diretamente à equipe responsável pela documentação. Esta equipe não responde a perguntas de suporte técnico. Clique aqui para ver informações específicas do suporte técnico.

* Obrigatório

 
*E-mail:  
Assunto:   Comentários sobre os tópicos da Ajuda
Página:   Visão geral do rascunho 2D
*Comentário:  
*   Eu reconheço que li e aceito, por meio deste, a política de privacidade segundo a qual meus Dados pessoais serão usados pela Dassault Systèmes

Imprimir tópico

Selecione o escopo do conteúdo a imprimir:

x

Foi detectada uma versão de navegador anterior ao Internet Explorer 7. Para uma exibição otimizada, sugerimos a atualização para o Internet Explorer 7 ou posterior.

 Não mostrar essa mensagem novamente
x

Versão do conteúdo de ajuda on-line: SOLIDWORKS 2017 SP05

Para desativar a Ajuda online no SOLIDWORKS e usar a Ajuda local, clique em Ajuda > Usar Ajuda on-line do SOLIDWORKS.

Para relatar problemas encontrados na interface e na pesquisa da Ajuda on-line, consulte seu representante de suporte local. Para fornecer comentários sobre tópicos individuais da Ajuda, use o link “Comentários sobre este tópico” na página do tópico individual.