Expand IntroducciónIntroducción
Expand AdministraciónAdministración
Expand Interfaz de usuarioInterfaz de usuario
Expand Conceptos básicos de SOLIDWORKSConceptos básicos de SOLIDWORKS
Expand Migrar de 2D a 3DMigrar de 2D a 3D
Expand EnsamblajesEnsamblajes
Expand CircuitWorksCircuitWorks
Expand ConfiguracionesConfiguraciones
Expand SOLIDWORKS CostingSOLIDWORKS Costing
Expand Design CheckerDesign Checker
Expand Estudios de diseño en SOLIDWORKSEstudios de diseño en SOLIDWORKS
Expand Dibujos y documentaciónDibujos y documentación
Expand DFMXpressDFMXpress
Expand DriveWorksXpressDriveWorksXpress
Expand FloXpressFloXpress
Expand Intercambio de datos SLDXMLIntercambio de datos SLDXML
Expand Importación y exportaciónImportación y exportación
Expand Visualización de modeloVisualización de modelo
Expand Diseño de moldesDiseño de moldes
Expand Estudios de movimientoEstudios de movimiento
Expand Piezas y operacionesPiezas y operaciones
Expand RoutingRouting
Expand Chapa metálicaChapa metálica
Expand SimulationSimulation
Expand SimulationXpressSimulationXpress
Expand CroquizadoCroquizado
Expand SOLIDWORKS MBDSOLIDWORKS MBD
Expand SOLIDWORKS UtilitiesSOLIDWORKS Utilities
Expand SOLIDWORKS SustainabilitySOLIDWORKS Sustainability
Collapse ToleranciasTolerancias
Expand TolAnalystTolAnalyst
Expand ToolboxToolbox
Expand Piezas soldadasPiezas soldadas
Expand Workgroup PDMWorkgroup PDM
Expand Solución de problemasSolución de problemas
Glosario
Ocultar tabla de contenido

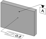
Referencia de DimXpert

Utilice la herramienta Referencia de DimXpert para definir indicaciones de referencia.

Para tener acceso a esta herramienta:

Haga clic en Referencia (barra de herramientas DimXpert) o en Herramientas > DimXpert > Referencia.

La herramienta admite estos tipos de indicaciones:

  • Saliente
  • Cilindro
  • Muesca
  • Plano
  • Taladro sencillo
  • Ranura
  • Ancho

La mayoría de las opciones del PropertyManager Indicación de referencia de DimXpert son las mismas que las del PropertyManager Indicación de referencia no perteneciente a DimXpert. Las diferencias se enumeran a continuación.

Configuración de etiqueta

Al aplicar o editar una referencia, introduzca una Etiqueta de referencia y asigne un tipo de línea indicativa.

Especifique la etiqueta inicial en Herramientas > Opciones > Propiedades de documento > Estándar de dibujo > Anotaciones > Referencias .

Al introducir etiquetas de referencia, se comprueba la sintaxis en las entradas según el estándar de dibujo activo. Por ejemplo:

  • La especificación de un valor numérico genera un mensaje de advertencia para todos los estándares.
  • La especificación de I, O o Q genera un mensaje de advertencia en el estándar ANSI.
  • La especificación de AA genera un mensaje de advertencia en el estándar ISO.

Líneas indicativas

Superficie Une el triángulo de referencia a la superficie de una operación.

Línea indicativa dirigida Une el triángulo de referencia a la línea indicativa dirigida.

Cota Une el triángulo de referencia a una cota o marco de control de operación.



TolG Une el triángulo de referencia al marco de control de una operación.

Ejemplos de referencias por operación

Saliente
Cilindro
Muesca
Plano
Taladro sencillo

Ranura
Ancho

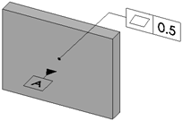
Aplicación de un símbolo de indicación de referencia

Para aplicar un símbolo de operación de referencia:

  1. Haga clic en Referencia (barra de herramientas DimXpert) o en Herramientas > DimXpert > Referencia.
  2. Seleccione la cara de la operación de referencia y haga clic en la zona de gráficos para colocar su correspondiente símbolo.
    Si la cara seleccionada puede utilizarse para definir más de un tipo de operación, utilice el selector de operaciones para elegir la operación deseada.
  3. Haga clic en PM_OK.gif.


Proporcione comentarios sobre este tema

SOLIDWORKS agradece sus comentarios acerca del formato, la precisión y la rigurosidad de la documentación. Utilice el siguiente formulario para enviar comentarios y sugerencias sobre este tema directamente al equipo de documentación. Nota: el equipo de documentación no puede responder a preguntas técnicas. Haga clic aquí para ver información sobre soporte técnico.

* Obligatorio

 
*Correo electrónico:  
Asunto:   Comentarios sobre los temas de la ayuda
Página:   Referencia de DimXpert
*Comentario:  
*   Por la presente confirmo que he leído y acepto la política de privacidad en virtud de la cual Dassault Systèmes usará mis Datos personales

Imprimir tema

Seleccione el ámbito del contenido que desee imprimir:

x

Hemos detectado que la versión de su explorador es anterior a Internet Explorer 7. Para una visualización óptima, le recomendamos que actualice a Internet Explorer 7 o versión superior.

 No volver a mostrar este mensaje
x

Versión del contenido de la ayuda web: SOLIDWORKS 2017 SP05

Para desactivar la ayuda web desde SOLIDWORKS y utilizar la ayuda local en su lugar, haga clic en Ayuda > Usar la ayuda web de SOLIDWORKS.

Para informar sobre problemas detectados con la interfaz y la función de búsqueda de la ayuda web, póngase en contacto con el representante local de soporte. Si desea proporcionar comentarios sobre temas individuales, utilice el vínculo “Comentarios sobre este tema” en la página del tema en cuestión.