文件屬性 - 零件號球

您可以為零件號球註記指定文件層級的草稿設定。您可以在 PropertyManager 中取代這些設定。適用於所有文件類型。

開啟這個頁面:

在工程圖開啟後,按一下選項 (「標準」工具列),選擇文件屬性標籤,再選擇註記 > 零件號球

整體草稿標準


整體草稿標準 繼承自所選的草稿標準頁面設定。

基本零件號球標準

基本零件號球標準
選擇一種標準:
  • ANSI
  • ISO
  • DIN
  • JIS
  • BSI
  • GOST
  • GB

導線樣式


導線樣式 選擇: 一個樣式。
導線粗細 選擇: 一種粗細或是選擇自訂大小然後輸入粗細。

框架樣式


框架樣式 設定環繞文字的形狀。
框架粗細 選擇: 一種粗細或是選擇自訂大小然後輸入粗細。

文字


字型

按一下以修改字型。


如果是剖半圓形零件號球的上半部或是所有其他的零件號球類型,請選擇:
  • 文字
  • 品項編號
  • 數量
  • 自訂屬性
上方套用於單一及堆疊的零件號球。
如果是剖半圓形零件號球的下半部,請選擇:
  • 文字
  • 品項編號
  • 數量
  • 自訂屬性

導線顯示


導線顯示 選擇︰
  • 直線(R)
  • 彎折線。 在與文字對正的導線中插入一水平彎折。 選擇下列之一:
    • 使用文件的導線長度註記頁面的設定中導出導線長度。
    • 導線長度。 讓您輸入導線未彎折部分的長度。

圖層


圖層
選取一個圖層。
您必須先為工程圖產生圖層,然後才能選擇它們作為文件屬性。

您必須在工程圖視圖文件中為圖層選擇根據標準 (「圖層」工具列) 才能套用這些圖層設定。

單一零件號球

樣式 選擇將會顯示無邊框的零件號球,或選擇一個零件號球形狀。 預設值為圓形
圓形 三角形
六角形 方塊形
菱形 五角形
剖半圓形 旗標 - 五邊形
旗標 - 三角形 底線
I 形 方圓形
檢查
大小(Z) 選擇一個大小(特定的字元數),緊靠密合(自動調整配合文字),或自訂大小(您可以設定零件號球的大小)。

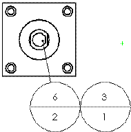
堆疊式零件號球

樣式 選擇一個零件號球的形狀。
大小(Z)

選擇一個大小(特定的字元數),緊靠密合(自動調整配合文字),或自訂大小(設定零件號球的大小)。

自動零件號球配置

選擇一種配置:
  • balloon_auto_square.png 按鈕 正方形
  • balloon_auto_bottom.png 按鈕
  • balloon_auto_left.png 按鈕 左邊
  • balloon_auto_circular.png 按鈕 環形
  • balloon_auto_top.png 按鈕 回到最上方
  • balloon_auto_right.png 按鈕 右邊
方形配置