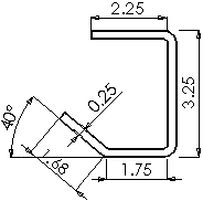
Modèle entier
|
Insère les objets de tout le modèle.

|
Fonction sélectionnée
|
Insère les objets de la fonction sélectionnée dans la zone graphique.

|
Composant sélectionné (mises en plan d'assemblage uniquement). |
Insère les objets du composant sélectionné dans la zone graphique.

|
Assemblage uniquement(mises en plan d'assemblage uniquement) |
Insère les objets des fonctions d'assemblage uniquement. Ainsi, vous pouvez insérer des cotes résidant exclusivement dans l'assemblage, comme les contraintes de Distance et d'Angle.

|
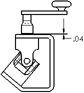
Importer les objets dans toutes les vues
|
Insère les objets du modèle dans toutes les vues de mise en plan sur la feuille. Lorsque cette option est désactivée, vous devez sélectionner les vues de mise en plan dans lesquelles vous voulez importer les objets du modèle.
|
Vue(s) de destination
|
Liste les vues de mise en plan dans lesquelles les objets de modèle seront insérés. Cette option n'est disponible que lorsque la case à cocher Importer les objets dans toutes les vues est désactivée.
|