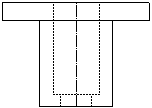
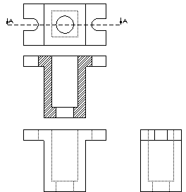
2D 구배 개요 이 개요에 일반적인 2D 구배 작업과 적용할 수 있는 SOLIDWORKS 해결책이 나열됩니다. 이 작업과 도구로 다음 구배를 작성하는 법을 보여줍니다. 3D 모델에서 이 구배를 작성 방법을 보여줍니다. 도면화와 주석 도구는 이 개요에서는 사용되지 않습니다. SOLIDWORKS 도면화와 주석 도구의 주요 기능을 설명하는 단계별 튜터리얼을 보려면 도움말 > SOLIDWORKS 튜터리얼 > 모든 SOLIDWORKS 튜터리얼을 클릭하여 고급 도면 튜터리얼을 봅니다. 작업 유형 정면도 작성하기. 정면도를 투영해서 윗면도 작성하기. 정면도와 윗면도를 투영해서 우측면도 작성하기. 윗면도에 홈 추가하기. 윗면도와 우측면도에 홈 투영하기. 정면도에서 단면도 작성하기. 정면도 작성하기 작업 해결 도면뷰의 수평 모서리를 작성합니다. 바닥 수평선을 선 도구로 스케치하고, 오프셋 요소 도구를 사용하여 추가 모서리를 작성합니다. 도면뷰의 수직 모서리를 작성합니다. 중심선 도구로 대칭선을 스케치하고 오프셋 요소 도구를 사용해서 양방향으로 중심선을 오프셋합니다. 초과된 스케치 요소를 삭제합니다. 코너와 지능형 잘라내기 옵션이 있는 요소 잘라내기 도구를 사용합니다. 코너 지능형 잘라내기: 클릭-클릭 방식 비디오: 요소 잘라내기로 코너 잘라내기 비디오: 지능형 잘라내기의 클릭-클릭 방식 사용 지능형 잘라내기: 끌기 방식 비디오: 지능형 잘라내기의 끌기 방식 사용 숨어있는 구멍을 나타내는 선 유형을 바꿉니다. 선 종류 도구를 사용해서 실선에서 점선으로 바꿉니다. 작업 유형으로 돌아가기 정면도를 투영해서 윗면도 작성 이전 (정면도) 이후 (정면과 윗면도) 작업 해결 윗면도와 정면도를 맞춥니다. 선 도구로 수직 무한선을 투영선으로 스케치합니다. 비디오: 전환하는 무한선을 투영선으로 스케치 도면뷰의 수평 모서리를 작성합니다. 중심선 도구로 수평 대칭선을 스케치해서 도면뷰의 중앙을 정의합니다. 오프셋 요소 도구로 중심선을 오프셋해서 도면뷰의 추가 모서리를 작성합니다. 초과된 스케치 요소를 삭제합니다. 바깥쪽 잘라내기, 코너와 지능형 잘라내기 옵션으로 잘라내기 도구를 사용합니다. 바깥쪽 잘라내기 코너 지능형 잘라내기 비디오: 외부 요소 잘라내기 도면의 중심에 구멍을 작성합니다. 원 및 중간점 스냅 도구를 사용해서 도면의 중심에 스냅하는 구멍을 작성합니다. 비디오: 도면 중심으로 스냅하는 원 스케치 중간점 스냅 원 초과선을 삭제합니다. Ctrl을 누른 상태에서 여러 개의 선을 선택하고 삭제를 누릅니다. 숨어있는 구멍을 나타내는 선 유형을 바꿉니다. 선 종류 도구를 사용해서 실선에서 점선으로 바꿉니다. 작업 유형으로 돌아가기 정면도와 윗면도를 투영해서 우측면도 작성 이전 (정면과 윗면도) 이후 (정면, 윗면과 우측면도) 작업 해결 우측면도를 정면도와 윗면도에 맞춥니다. 수평 무한선을 투영선으로 사용합니다. 도면뷰의 수직 모서리를 작성합니다. 요소 회전 도구로 (윗면도에서) 투영선을 -90° 회전합니다. 비디오: 요소 회전 초과된 스케치 요소를 삭제합니다. 바깥쪽 잘라내기, 지능형 잘라내기와 코너 옵션으로 잘라내기 도구를 사용합니다. 바깥쪽 잘라내기 지능형 잘라내기 코너 숨어있는 구멍을 나타내는 선 유형을 바꿉니다. 선 종류 도구를 사용해서 실선에서 점선으로 바꿉니다. 작업 유형으로 돌아가기 윗면도에 홈 추가 이전 (윗면도) 이후 (윗면도) 작업 해결 뷰에서 홈을 중심에 붙입니다. 중심선 도구를 사용해서 수평과 수직 보조선을 작성합니다. 이 홈의 수평 모서리를 작성합니다. 오프셋 요소 도구를 사용해서 중심선을 오프셋 합니다. 초과된 스케치 요소를 삭제합니다. 지능형 잘라내기 옵션이 있는 잘라내기 도구를 사용합니다. 홈을 둘러싸는 호를 작성합니다. 접원호 도구를 사용합니다. 초과된 스케치 요소를 삭제합니다. 지능형 잘라내기 옵션이 있는 잘라내기 도구를 사용합니다. 도면뷰의 반대쪽에 대칭되는 홈을 작성합니다. (홈의 공간을 작성하기 위한) 도면뷰의 반대쪽 수직 모서리를 삭제하고 대칭 복사 도구를 사용해서 홈을 대칭 복사합니다. 비디오: 요소 대칭 복사 작업 유형으로 돌아가기 윗면도와 우측면도에 홈 투영 이전(정면, 윗면과 우측면도) 이후(정면, 윗면과 우측면도) 작업 해결 윗면도와 정면도를 홈에 맞춥니다. 수직 무한선을 투영선으로 사용합니다. 숨어있는 홈을 나타내는 선 유형을 바꿉니다. 선 종류 도구를 사용해서 실선에서 점선으로 바꿉니다. 초과된 스케치 요소를 삭제합니다. 지능형 잘라내기 옵션이 있는 요소 잘라내기 도구를 사용합니다. 윗면도와 우측면도에서부터 홈에 맞춥니다. 투영선으로 수평 무한선을 스케치하고, 요소 회전 도구로 선을 -90° 회전합니다. 비디오: 투영선 회전 초과된 스케치 요소를 삭제합니다. 지능형 잘라내기 옵션이 있는 잘라내기 도구를 사용합니다. 작업 유형으로 돌아가기 정면도에서 단면도 작성 이전 (정면도) 이후(단면도) 작업 해결 도면뷰에서 초과선을 삭제해서 단면도를 작성합니다. 지능형 잘라내기 옵션이 있는 요소 잘라내기 도구를 사용합니다. 선 유형을 변경해서 숨어있는 구멍과 홈을 보입니다. 선 종류 도구를 사용해서 실선에서 점선으로 바꿉니다. 해칭 패턴을 작성하여 도면뷰의 솔리드 영역을 나타냅니다. 영역 해칭/채우기 도구를 사용하여 사선 해칭된 단면에 적용합니다. 비디오: 해칭 단면 적용 작업 유형으로 돌아가기 상위 주제특정 산업 설계 도구 관련 개념 기계가공 도구 개요 금형 설계 도구 개요 도구와 다이 설계 도구 개요 3D 모델에서 도면 작성 3D 모델에서 두 방법으로 같은 도면을 작성할 수 있습니다. 작업 해결 정면, 윗면과 우측면도를 작성합니다. 새 도면 시트에서 도면 도구 모음이 표시된 상태에서, 표준 3도 를 선택하고 표준 3도 PropertyManager의 파트 분서를 찾아봅니다. 단면도를 작성합니다. 도면 문서에서 단면뷰 도구를 사용해서 윗면도에서 단면도를 작성합니다. 사선 해칭은 자동으로 단면도에 적용됩니다.
2D 구배 개요 이 개요에 일반적인 2D 구배 작업과 적용할 수 있는 SOLIDWORKS 해결책이 나열됩니다. 이 작업과 도구로 다음 구배를 작성하는 법을 보여줍니다. 3D 모델에서 이 구배를 작성 방법을 보여줍니다. 도면화와 주석 도구는 이 개요에서는 사용되지 않습니다. SOLIDWORKS 도면화와 주석 도구의 주요 기능을 설명하는 단계별 튜터리얼을 보려면 도움말 > SOLIDWORKS 튜터리얼 > 모든 SOLIDWORKS 튜터리얼을 클릭하여 고급 도면 튜터리얼을 봅니다. 작업 유형 정면도 작성하기. 정면도를 투영해서 윗면도 작성하기. 정면도와 윗면도를 투영해서 우측면도 작성하기. 윗면도에 홈 추가하기. 윗면도와 우측면도에 홈 투영하기. 정면도에서 단면도 작성하기. 정면도 작성하기 작업 해결 도면뷰의 수평 모서리를 작성합니다. 바닥 수평선을 선 도구로 스케치하고, 오프셋 요소 도구를 사용하여 추가 모서리를 작성합니다. 도면뷰의 수직 모서리를 작성합니다. 중심선 도구로 대칭선을 스케치하고 오프셋 요소 도구를 사용해서 양방향으로 중심선을 오프셋합니다. 초과된 스케치 요소를 삭제합니다. 코너와 지능형 잘라내기 옵션이 있는 요소 잘라내기 도구를 사용합니다. 코너 지능형 잘라내기: 클릭-클릭 방식 비디오: 요소 잘라내기로 코너 잘라내기 비디오: 지능형 잘라내기의 클릭-클릭 방식 사용 지능형 잘라내기: 끌기 방식 비디오: 지능형 잘라내기의 끌기 방식 사용 숨어있는 구멍을 나타내는 선 유형을 바꿉니다. 선 종류 도구를 사용해서 실선에서 점선으로 바꿉니다. 작업 유형으로 돌아가기 정면도를 투영해서 윗면도 작성 이전 (정면도) 이후 (정면과 윗면도) 작업 해결 윗면도와 정면도를 맞춥니다. 선 도구로 수직 무한선을 투영선으로 스케치합니다. 비디오: 전환하는 무한선을 투영선으로 스케치 도면뷰의 수평 모서리를 작성합니다. 중심선 도구로 수평 대칭선을 스케치해서 도면뷰의 중앙을 정의합니다. 오프셋 요소 도구로 중심선을 오프셋해서 도면뷰의 추가 모서리를 작성합니다. 초과된 스케치 요소를 삭제합니다. 바깥쪽 잘라내기, 코너와 지능형 잘라내기 옵션으로 잘라내기 도구를 사용합니다. 바깥쪽 잘라내기 코너 지능형 잘라내기 비디오: 외부 요소 잘라내기 도면의 중심에 구멍을 작성합니다. 원 및 중간점 스냅 도구를 사용해서 도면의 중심에 스냅하는 구멍을 작성합니다. 비디오: 도면 중심으로 스냅하는 원 스케치 중간점 스냅 원 초과선을 삭제합니다. Ctrl을 누른 상태에서 여러 개의 선을 선택하고 삭제를 누릅니다. 숨어있는 구멍을 나타내는 선 유형을 바꿉니다. 선 종류 도구를 사용해서 실선에서 점선으로 바꿉니다. 작업 유형으로 돌아가기 정면도와 윗면도를 투영해서 우측면도 작성 이전 (정면과 윗면도) 이후 (정면, 윗면과 우측면도) 작업 해결 우측면도를 정면도와 윗면도에 맞춥니다. 수평 무한선을 투영선으로 사용합니다. 도면뷰의 수직 모서리를 작성합니다. 요소 회전 도구로 (윗면도에서) 투영선을 -90° 회전합니다. 비디오: 요소 회전 초과된 스케치 요소를 삭제합니다. 바깥쪽 잘라내기, 지능형 잘라내기와 코너 옵션으로 잘라내기 도구를 사용합니다. 바깥쪽 잘라내기 지능형 잘라내기 코너 숨어있는 구멍을 나타내는 선 유형을 바꿉니다. 선 종류 도구를 사용해서 실선에서 점선으로 바꿉니다. 작업 유형으로 돌아가기 윗면도에 홈 추가 이전 (윗면도) 이후 (윗면도) 작업 해결 뷰에서 홈을 중심에 붙입니다. 중심선 도구를 사용해서 수평과 수직 보조선을 작성합니다. 이 홈의 수평 모서리를 작성합니다. 오프셋 요소 도구를 사용해서 중심선을 오프셋 합니다. 초과된 스케치 요소를 삭제합니다. 지능형 잘라내기 옵션이 있는 잘라내기 도구를 사용합니다. 홈을 둘러싸는 호를 작성합니다. 접원호 도구를 사용합니다. 초과된 스케치 요소를 삭제합니다. 지능형 잘라내기 옵션이 있는 잘라내기 도구를 사용합니다. 도면뷰의 반대쪽에 대칭되는 홈을 작성합니다. (홈의 공간을 작성하기 위한) 도면뷰의 반대쪽 수직 모서리를 삭제하고 대칭 복사 도구를 사용해서 홈을 대칭 복사합니다. 비디오: 요소 대칭 복사 작업 유형으로 돌아가기 윗면도와 우측면도에 홈 투영 이전(정면, 윗면과 우측면도) 이후(정면, 윗면과 우측면도) 작업 해결 윗면도와 정면도를 홈에 맞춥니다. 수직 무한선을 투영선으로 사용합니다. 숨어있는 홈을 나타내는 선 유형을 바꿉니다. 선 종류 도구를 사용해서 실선에서 점선으로 바꿉니다. 초과된 스케치 요소를 삭제합니다. 지능형 잘라내기 옵션이 있는 요소 잘라내기 도구를 사용합니다. 윗면도와 우측면도에서부터 홈에 맞춥니다. 투영선으로 수평 무한선을 스케치하고, 요소 회전 도구로 선을 -90° 회전합니다. 비디오: 투영선 회전 초과된 스케치 요소를 삭제합니다. 지능형 잘라내기 옵션이 있는 잘라내기 도구를 사용합니다. 작업 유형으로 돌아가기 정면도에서 단면도 작성 이전 (정면도) 이후(단면도) 작업 해결 도면뷰에서 초과선을 삭제해서 단면도를 작성합니다. 지능형 잘라내기 옵션이 있는 요소 잘라내기 도구를 사용합니다. 선 유형을 변경해서 숨어있는 구멍과 홈을 보입니다. 선 종류 도구를 사용해서 실선에서 점선으로 바꿉니다. 해칭 패턴을 작성하여 도면뷰의 솔리드 영역을 나타냅니다. 영역 해칭/채우기 도구를 사용하여 사선 해칭된 단면에 적용합니다. 비디오: 해칭 단면 적용 작업 유형으로 돌아가기 상위 주제특정 산업 설계 도구 관련 개념 기계가공 도구 개요 금형 설계 도구 개요 도구와 다이 설계 도구 개요 3D 모델에서 도면 작성 3D 모델에서 두 방법으로 같은 도면을 작성할 수 있습니다. 작업 해결 정면, 윗면과 우측면도를 작성합니다. 새 도면 시트에서 도면 도구 모음이 표시된 상태에서, 표준 3도 를 선택하고 표준 3도 PropertyManager의 파트 분서를 찾아봅니다. 단면도를 작성합니다. 도면 문서에서 단면뷰 도구를 사용해서 윗면도에서 단면도를 작성합니다. 사선 해칭은 자동으로 단면도에 적용됩니다.
3D 모델에서 도면 작성 3D 모델에서 두 방법으로 같은 도면을 작성할 수 있습니다. 작업 해결 정면, 윗면과 우측면도를 작성합니다. 새 도면 시트에서 도면 도구 모음이 표시된 상태에서, 표준 3도 를 선택하고 표준 3도 PropertyManager의 파트 분서를 찾아봅니다. 단면도를 작성합니다. 도면 문서에서 단면뷰 도구를 사용해서 윗면도에서 단면도를 작성합니다. 사선 해칭은 자동으로 단면도에 적용됩니다.