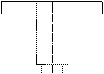
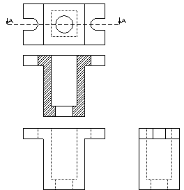
2D 繪圖概要 此概要列出典型的 2D 繪圖工作以及適用的 SOLIDWORKS 解決方案。 這裡的工作及解決方案顯示如何產生下列的工程圖。 檢視如何 從一個 3D 模型中產生此工程圖。 在此概要中沒有使用尺寸細目及註記的工具。 若需要強調說明 SOLIDWORKS 尺寸細目及註記工具的逐步學習單元,請按一下說明 > SOLIDWORKS 學習單元 > 所有 SOLIDWORKS 學習單元來查看進階工程圖學習單元。 工作類別 產生前視圖。 投影前視圖來產生上視圖。 投影前視圖及上視圖來產生右視圖。 加入一個溝槽 到上視圖中。 投影溝槽 到前視及右視圖中。 從前視圖中產生剖面視圖。 產生前視圖 工作 解決方案 產生工程視圖的水平邊線。 使用 直線 工具來繪製底端的水平線,然後使用 偏移圖元 工具來產生其他的邊線。 產生工程視圖的垂直邊線。 使用中心線 中心線 工具來繪製一條對稱的直線,然後使用 偏移圖元 工具來於兩方向偏移中心線。 刪除多餘的草圖圖元。 使用 修剪圖元 工具並搭配角落及強力修剪的選項。 角落 強力修剪: 按一下-按一下方法 視訊: 使用修剪圖元修剪角落 視訊: 使用強力修剪按一下-按一下方法 強力修剪: 拖曳方法 視訊: 使用強力修剪拖曳方法 變更線條樣式來指示隱藏的鑽孔。 使用 線條樣式 工具來將線條從實線改為虛線。 返回工作類別 投影前視圖來產生上視圖 之前(前視圖) 之後(前視圖及上視圖) 工作 解決方案 將上視圖與前視圖對正。 使用 直線 工具繪製垂直無限直線作為投影線。 視訊: 繪製垂直無限直線作為投影線 產生工程視圖的水平邊線。 使用 中心線 工具來繪製一條水平對稱的直線以定義工程視圖的中間。 使用 偏移圖元 工具來偏移中心線以產生工程視圖的其他邊線。 刪除多餘的草圖圖元。 使用 修剪圖元 工具並搭配修剪掉外側、角落及強力修剪的選項。 修剪掉外側 角落 強力修剪 視訊: 修剪掉外側 在工程圖的中心產生一個鑽孔。 使用 圓 及 中點抓取 工具,來產生抓取至工程圖中心的鑽孔。 視訊: 繪製抓取至工程圖中心的圓 中點抓取 圓 刪除多餘的線。 按住 Ctrl 來選取多條直線並按 Delete。 變更線條樣式來指示隱藏的鑽孔。 使用 線條樣式 工具來將線條從實線改為虛線。 返回工作類別 投影前視圖及上視圖來產生右視圖 之前(前視圖及上視圖) 之後 (前視圖、上視圖及右視圖) 工作 解決方案 將右視圖與前視圖及上視圖對正。 使用水平無線直線做為投影線。 產生工程視圖的垂直邊線。 使用 旋轉圖元 工具來旋轉投影線 (從上視圖中) -90°。 視訊: 旋轉圖元 刪除多餘的草圖圖元。 使用 修剪圖元 工具並搭配修剪掉外側、強力修剪及角落的選項。 修剪掉外側 強力修剪 角落 變更線條樣式來指示隱藏的鑽孔。 使用 線條樣式 工具來將線條從實線改為虛線。 返回工作類別 加入一個溝槽到上視圖中 之前(上視圖) 之後(上視圖) 工作 解決方案 將溝槽置於視圖中心。 使用 中心線 工具來產生水平及垂直的建構線。 產生溝槽的水平邊線。 使用 偏移圖元 工具來偏移中心線。 刪除多餘的草圖圖元。 使用 修剪圖元 工具的強力修剪選項。 產生一個弧來圍住溝槽。 使用 切線弧 工具。 刪除多餘的草圖圖元。 使用 修剪圖元 工具的強力修剪選項。 在工程圖的另一邊產生對稱的溝槽。 刪除工程圖另一邊的垂直邊線 (以產生溝槽的空間),然後使用 鏡射圖元 工具來鏡射溝槽。 視訊:鏡射圖元 返回工作類別 投影溝槽到前視及右視圖中 之前 (前視圖、上視圖及右視圖) 之後 (前視圖、上視圖及右視圖) 工作 解決方案 將上視圖中的溝槽與前視圖對正。 使用垂直無線直線做為投影線。 變更線條樣式來指示隱藏的溝槽。 使用 線條樣式 工具來將線條從實線改為虛線。 刪除多餘的草圖圖元。 使用 修剪圖元 工具的強力修剪選項。 將上視圖中的溝槽與右視圖對正。 繪製水平無限直線作為投影線,然後使用 旋轉圖元 工具將直線旋轉 -90°。 視訊:旋轉投影線 刪除多餘的草圖圖元。 使用 修剪圖元 工具的強力修剪選項。 返回工作類別 從前視圖中產生剖面視圖 之前(前視圖) 之後 (剖面圖) 工作 解決方案 刪除工程圖中額外的直線來產生剖面。 使用 修剪圖元 工具的強力修剪選項。 變更線條樣式以使隱藏的鑽孔及溝槽可見。 使用 線條樣式 工具來將線條從實線改為虛線。 產生剖面線類型來指出工程視圖的實體區域。 使用 區域剖面線/填入 工具來套用剖面線樣式。 視訊:套用剖面線樣式 返回工作類別 上層主題針對工業設計的工具 機械設計工具概要 模具設計工具概要 模具及鑄模設計工具概要 從 3D 模型產生工程圖 使用 3D 模型,即可用兩個步驟產生相同的工程圖。 工作 解決方案 產生前視圖、上視圖、及右視圖。 在新的工程圖頁中,於「工程圖」工具列顯示時,選擇標準三視圖 ,並在 標準三視圖 PropertyManager 中瀏覽找出零件文件。 產生剖面視圖。 在工程圖文件中,使用剖面視圖 工具來從上視圖中產生一個剖面視圖。 剖面線會被自動套用到剖面視圖中。
2D 繪圖概要 此概要列出典型的 2D 繪圖工作以及適用的 SOLIDWORKS 解決方案。 這裡的工作及解決方案顯示如何產生下列的工程圖。 檢視如何 從一個 3D 模型中產生此工程圖。 在此概要中沒有使用尺寸細目及註記的工具。 若需要強調說明 SOLIDWORKS 尺寸細目及註記工具的逐步學習單元,請按一下說明 > SOLIDWORKS 學習單元 > 所有 SOLIDWORKS 學習單元來查看進階工程圖學習單元。 工作類別 產生前視圖。 投影前視圖來產生上視圖。 投影前視圖及上視圖來產生右視圖。 加入一個溝槽 到上視圖中。 投影溝槽 到前視及右視圖中。 從前視圖中產生剖面視圖。 產生前視圖 工作 解決方案 產生工程視圖的水平邊線。 使用 直線 工具來繪製底端的水平線,然後使用 偏移圖元 工具來產生其他的邊線。 產生工程視圖的垂直邊線。 使用中心線 中心線 工具來繪製一條對稱的直線,然後使用 偏移圖元 工具來於兩方向偏移中心線。 刪除多餘的草圖圖元。 使用 修剪圖元 工具並搭配角落及強力修剪的選項。 角落 強力修剪: 按一下-按一下方法 視訊: 使用修剪圖元修剪角落 視訊: 使用強力修剪按一下-按一下方法 強力修剪: 拖曳方法 視訊: 使用強力修剪拖曳方法 變更線條樣式來指示隱藏的鑽孔。 使用 線條樣式 工具來將線條從實線改為虛線。 返回工作類別 投影前視圖來產生上視圖 之前(前視圖) 之後(前視圖及上視圖) 工作 解決方案 將上視圖與前視圖對正。 使用 直線 工具繪製垂直無限直線作為投影線。 視訊: 繪製垂直無限直線作為投影線 產生工程視圖的水平邊線。 使用 中心線 工具來繪製一條水平對稱的直線以定義工程視圖的中間。 使用 偏移圖元 工具來偏移中心線以產生工程視圖的其他邊線。 刪除多餘的草圖圖元。 使用 修剪圖元 工具並搭配修剪掉外側、角落及強力修剪的選項。 修剪掉外側 角落 強力修剪 視訊: 修剪掉外側 在工程圖的中心產生一個鑽孔。 使用 圓 及 中點抓取 工具,來產生抓取至工程圖中心的鑽孔。 視訊: 繪製抓取至工程圖中心的圓 中點抓取 圓 刪除多餘的線。 按住 Ctrl 來選取多條直線並按 Delete。 變更線條樣式來指示隱藏的鑽孔。 使用 線條樣式 工具來將線條從實線改為虛線。 返回工作類別 投影前視圖及上視圖來產生右視圖 之前(前視圖及上視圖) 之後 (前視圖、上視圖及右視圖) 工作 解決方案 將右視圖與前視圖及上視圖對正。 使用水平無線直線做為投影線。 產生工程視圖的垂直邊線。 使用 旋轉圖元 工具來旋轉投影線 (從上視圖中) -90°。 視訊: 旋轉圖元 刪除多餘的草圖圖元。 使用 修剪圖元 工具並搭配修剪掉外側、強力修剪及角落的選項。 修剪掉外側 強力修剪 角落 變更線條樣式來指示隱藏的鑽孔。 使用 線條樣式 工具來將線條從實線改為虛線。 返回工作類別 加入一個溝槽到上視圖中 之前(上視圖) 之後(上視圖) 工作 解決方案 將溝槽置於視圖中心。 使用 中心線 工具來產生水平及垂直的建構線。 產生溝槽的水平邊線。 使用 偏移圖元 工具來偏移中心線。 刪除多餘的草圖圖元。 使用 修剪圖元 工具的強力修剪選項。 產生一個弧來圍住溝槽。 使用 切線弧 工具。 刪除多餘的草圖圖元。 使用 修剪圖元 工具的強力修剪選項。 在工程圖的另一邊產生對稱的溝槽。 刪除工程圖另一邊的垂直邊線 (以產生溝槽的空間),然後使用 鏡射圖元 工具來鏡射溝槽。 視訊:鏡射圖元 返回工作類別 投影溝槽到前視及右視圖中 之前 (前視圖、上視圖及右視圖) 之後 (前視圖、上視圖及右視圖) 工作 解決方案 將上視圖中的溝槽與前視圖對正。 使用垂直無線直線做為投影線。 變更線條樣式來指示隱藏的溝槽。 使用 線條樣式 工具來將線條從實線改為虛線。 刪除多餘的草圖圖元。 使用 修剪圖元 工具的強力修剪選項。 將上視圖中的溝槽與右視圖對正。 繪製水平無限直線作為投影線,然後使用 旋轉圖元 工具將直線旋轉 -90°。 視訊:旋轉投影線 刪除多餘的草圖圖元。 使用 修剪圖元 工具的強力修剪選項。 返回工作類別 從前視圖中產生剖面視圖 之前(前視圖) 之後 (剖面圖) 工作 解決方案 刪除工程圖中額外的直線來產生剖面。 使用 修剪圖元 工具的強力修剪選項。 變更線條樣式以使隱藏的鑽孔及溝槽可見。 使用 線條樣式 工具來將線條從實線改為虛線。 產生剖面線類型來指出工程視圖的實體區域。 使用 區域剖面線/填入 工具來套用剖面線樣式。 視訊:套用剖面線樣式 返回工作類別 上層主題針對工業設計的工具 機械設計工具概要 模具設計工具概要 模具及鑄模設計工具概要 從 3D 模型產生工程圖 使用 3D 模型,即可用兩個步驟產生相同的工程圖。 工作 解決方案 產生前視圖、上視圖、及右視圖。 在新的工程圖頁中,於「工程圖」工具列顯示時,選擇標準三視圖 ,並在 標準三視圖 PropertyManager 中瀏覽找出零件文件。 產生剖面視圖。 在工程圖文件中,使用剖面視圖 工具來從上視圖中產生一個剖面視圖。 剖面線會被自動套用到剖面視圖中。
從 3D 模型產生工程圖 使用 3D 模型,即可用兩個步驟產生相同的工程圖。 工作 解決方案 產生前視圖、上視圖、及右視圖。 在新的工程圖頁中,於「工程圖」工具列顯示時,選擇標準三視圖 ,並在 標準三視圖 PropertyManager 中瀏覽找出零件文件。 產生剖面視圖。 在工程圖文件中,使用剖面視圖 工具來從上視圖中產生一個剖面視圖。 剖面線會被自動套用到剖面視圖中。