PropertyManager Cota

Permite acotar un dibujo con la acotación inteligente o con DimXpert.

Para abrir este PropertyManager:

Seleccione una o más cotas.

Si selecciona varias cotas, sólo estarán disponibles las propiedades que correspondan a las cotas seleccionadas.

Herramientas de asistencia con cotas

PM_smart_dimensioning.gif Cotas inteligentes Permite crear cotas con la herramienta Cota inteligente Tool_Smart_Dimensions_Relations.gif.
PM_dimxpert_rapid_dim_manip.gif Acotación rápida Permite activar o desactivar el selector de cotas rápidas. Seleccione para activar; anula la selección para desactivar. Esta configuración se mantiene en todas las sesiones.
DimXpert Permite aplicar cotas para definir completamente operaciones de fabricación (matrices, ranuras, cavidades, redondeos, etc.) y ubicar cotas.

Estilo

Estilo

Esquema de matriz

Aplica el esquema de acotación seleccionado a las matrices.

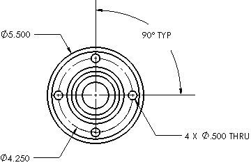
PM_polar_dimensioning.gif Cotas polares Crea un esquema que se compone de una anotación y a veces de una cota de ubicación angular. Las cotas creadas son diamétricas, de radio y angulares.
dimxpert_polar.gif
PM_linear_dimensioning.gif Cotas lineales Crea cotas lineales para una matriz.
Los números de instancias para las cotas polares y lineales son compatibles sólo con las matrices creadas con el software SOLIDWORKS.

Esquema de acotación

Aplica el esquema de acotación seleccionado, Línea base o Cadena PM_chain_dimensioning.gif, a las operaciones de fabricación y a las cotas de ubicación.

Referencia

Por vértice/centro de taladro Mide las operaciones de fabricación y las cotas de ubicación desde la entidad seleccionada en la zona de gráficos. El vértice puede ser un vértice verdadero o el punto central de un círculo.
Por selección Mide las operaciones de fabricación y las cotas de ubicación desde las aristas X e Y seleccionadas mediante la creación de una intersección virtual. Puede arrastrar el origen para girarlo o establecer un ángulo de Rotación. Si las aristas X e Y interseccionan, debe utilizar la opción Por vértice.

Capa PM_Layer.gif

En los dibujos con capas etiquetadas, seleccione una capa.