DimXpert データム(DimXpert Datum)

DimXpert データム(Datum)ツールを使用してデータム フィーチャーを定義できます。

このツールにアクセスするには:

データム(Datum)(MBD 寸法ツールバー)をクリックするか、ツール(Tools) > MBD 寸法(MBD Dimension) > データム(Datum)を選択します。

ツールはこれらのフィーチャータイプをサポートします:

  • ボス(Boss)
  • 円筒
  • 切欠(Notch)
  • 飛行機
  • 単一穴(Simple Hole)
  • スロット(Slot)

ほとんどの DimXpert データム フィーチャー PropertyManager オプションは、非 DimXpert データム フィーチャー PropertyManager と同じです。 違いを下記に示します。

ラベル設定(Label Settings)

データムを適用、または編集しているとき、データム ラベルを入力し、引出線の種類を割り当てます。

ツール (Tools) > オプション (Options) > ドキュメント プロパティ (Document Properties) > 設計規格 (Drafting Standard) > アノテート アイテム (Annotations) > データム (Datum) で開始ラベルを指定します。

データムラベルを入力するとき、入力された値がアクティブな図面規格のシンタックスであるかがチェックされます。 例:

  • 数値を入力すると、すべての規格で警告メッセージを表示する。
  • ANSIのとき、IO、または Qを入力すると、警告メッセージを表示する。
  • ISOのとき、AA を入力すると警告メッセージを表示する。

引出線

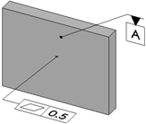
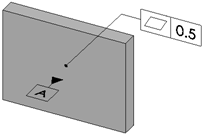
サーフェス データム三角形をフィーチャーのサーフェスに添付します。

方向指定引出線 データム三角形を方向指定引出線に添付します。

寸法 データム三角形を寸法またはフィーチャー コントロール枠に添付します。



Gtol データム三角形をフィーチャー コントロール枠に添付します。

フィーチャーによるデータム例

ボス(Boss)
円筒
切欠(Notch)
飛行機
単一穴(Simple Hole)

スロット(Slot)

データム記号の適用

データムフィーチャー記号を適用するには:

  1. データム(Datum)(MBD 寸法ツールバー)をクリックするか、ツール(Tools) > MBD 寸法(MBD Dimension) > データム(Datum)を選択します。
  2. データムフィーチャーの面を選択して、データム記号として配置するためにグラフィックス領域をクリックします。
    もし選択された面が 1 つ以上のフィーチャータイプを定義するために使用できるなら、フィーチャー セレクターを必要とされるフィーチャーを選択するために使ってください。
  3. をクリックします。