A opção Tolerâncias de orientação permite ao TolAnalyst considerar as tolerâncias que controlam explicitamente a orientação do recurso. Quando combinada com a opção Componentes de fixação e pinos flutuantes, a opção Tolerâncias de orientação permite ao TolAnalyst usar as folgas entre os recursos para girar peças até suas condições de pior cenário.
Tolerâncias com suporte:
- Inclinação
- Paralelismo
- Perpendicularidade
- Dimensões angulares definidas com o uso da ferramenta Dimensão do local
.
A opção
Tolerâncias de orientação não considera as seguintes tolerâncias que controlam implicitamente a orientação do recurso: posição, perfil de superfície e dimensões lineares definidas com o uso da ferramenta
Dimensão do local

.
Exemplo 2
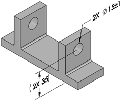
| Usando essa montagem, crie um estudo para avaliar a distância entre a base e o eixo, como mostrado pela dimensão 35.
|
|
| Aplique a tolerância de tamanho mostrada nos dois furos na base.
|
|
| Aplique o tamanho de tolerância mostrado para o diâmetro do eixo.
|
|
| Com Componentes de fixação e pinos flutuantes marcada e Tolerâncias de orientação desmarcada, os resultados são o valor mínimo 33 e o valor máximo 37 (mostrados). Observe como o eixo é empurrado contra a parte superior dos furos.
|
|
| Com Componentes de fixação e pinos flutuantes e Tolerâncias de orientação marcadas, os resultados são o valor mínimo 32 e o valor máximo 38 (mostrados). Observe como o eixo é girado de forma que contém a aresta superior externa do furo esquerdo e a aresta inferior externa do furo direito.
|
|