モデル アイテム PropertyManager

モデル アイテム PropertyManager を開くには:

図面で、モデル アイテム Tool_Model_Items_Annotation.gif (アノテーション ツールバー) をクリックするか、挿入 > モデル アイテム をクリックします。

ソース/指定先

熱源


モデル全体 モデル全体に対してモデル アイテムを挿入します。
model_items_entire_model.gif
選択フィーチャー グラフィックス領域で選択されたフィーチャーに対してモデル アイテムを挿入します。
model_items_selected_feature.gif
選択構成部品(アセンブリ図面のみ) グラフィックス領域で選択された構成部品に対してモデル アイテムを挿入します。
model_items_selected_component.gif
アセンブリのみ (アセンブリ図面のみ) アセンブリ フィーチャーのみに対してモデル アイテムを挿入します。 たとえば、距離 合致 角度 合致など、アセンブリに排他的に保存される寸法を挿入できます。
model_items_only_assy.gif
全ビューへアイテム読み込み シート上のすべての図面ビューに対してモデル アイテムを挿入します。選択解除されているときは、モデル アイテムのインポート先となる図面ビューを選択する必要があります。
指定先ビュー (Destination view(s)) モデル アイテムが挿入される図面ビューがリスト表示されます。このオプションは全ビューへアイテム読み込み(Import items into all views)を選択解除すると使用できるようになります。

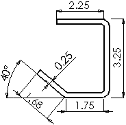
寸法 (Dimensions)


dim_for_drawing.png ボタン 図面に指定  
図面に指定しない (Not marked for Drawing)  
PM_number_of_instances.png インスタンス/回転数 (Instance/Revolution Counts) パターン内のインスタンス数を表す整数値を挿入します。
model_items_inst_rev_counts.gif
PM-Toleranced_dimensions.png 公差付き寸法 公差つきの寸法を挿入します。
PM_hole_wizard_profiles.gif 穴ウィザードの断面 穴ウィザードで作成された穴の断面スケッチの寸法を挿入します。
PM_hole_wizard_locations.gif 穴ウィザードの位置 穴ウィザードで作成された穴の断面スケッチの寸法を挿入します。
    model_items_hole_wiz.gif
穴寸法テキスト 穴ウィザード フィーチャーに穴寸法テキスト アノテート アイテムを挿入します。
model_items_hole_callout.gif
  重複アイテムを除外 固有のモデル アイテムのみが挿入されます。重複アイテムは挿入されません。

アノテート アイテム (Annotations)

すべて選択 (Selects all)次のモデル アイテムが存在する場合は、それらが挿入されます。 存在しない場合は、必要に応じて個々のアイテムを選択してください。


注記 溶接記号(Weld Symbols)
表面仕上げ キャタピラー(Caterpillar)
幾何公差 エンド処理(End Treatment)
データム記号(Datums) ねじ山 (Cosmetic Thread)(アセンブリ図面のみ)
データム ターゲット(Datum Targets)    

参照ジオメトリ

すべて選択 (Selects all)次のモデル アイテムが存在する場合は、それらが挿入されます。 存在しない場合は、必要に応じて個々のアイテムを選択してください。


平面(Planes) 質量中心
PM_Decals_Mapping_Select_Surfaces.gif サーフェス
原点(Origins) カーブ
点 (Points) ルーティング点

オプション(Options)


非表示フィーチャーのアイテムを含む (Include items from hidden features) 非表示フィーチャーのモデル アイテムが挿入されます。非表示モデル アイテムに属するアノテート アイテムが挿入されるのを防ぐには、このオプションを選択解除してください。非表示モデル アイテムのフィルタリング中は、パフォーマンスが低下します。
スケッチで寸法の配置を使用 (Use dimension placement in sketch) 図面の同じ場所にある部品からモデル寸法が挿入されます。

レイヤー PM_Layer.gif

指定された図面レイヤーにモデル アイテムが挿入されます。