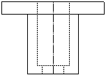
Aligner la vue de dessus sur la vue de face.
|
Esquissez des lignes infinies verticales comme lignes de projection avec
Ligne
.
Vidéo: Esquisse de lignes infinies verticales comme lignes de projection

|
Créer les arêtes horizontales de la vue de mise en plan.
|
Esquissez une ligne de symétrie horizontale avec
Ligne de construction
pour définir le milieu de la vue de mise en plan. Décalez la ligne de construction avec
Décaler les entités
pour créer des arêtes supplémentaires de la vue de mise en plan.

|
Supprimer l'excédent d'entités d'esquisse.
|
Utilisez
Ajuster les entités
avec les options ajuster l'extérieur, coin et ajustement intelligent.
 |
 |
Ajuster l'extérieur |
Coin |
 |
Ajustement intelligent |
Vidéo: Ajuster les entités extérieures
|
Créer un perçage au centre de la mise en plan.
|
Utilisez
Cercle
et
Points milieu aimantés
pour créer un perçage aimanté au centre de la mise en plan.
Vidéo: Esquisse d'un cercle s'alignant sur le centre de la mise en plan
 |
Points milieu aimantés |
 |
Cercle |
|
Supprimer l'excédent de lignes.
|
Appuyez sur la touche Ctrl et sélectionnez plusieurs lignes, puis appuyez sur Suppr.

|
Modifier le style des lignes pour indiquer les perçages cachés.
|
Utilisez
Style de ligne
pour changer les lignes continues en lignes en pointillé.

|