PropertyManager Разрез (чертежи)

Чтобы открыть Разрез PropertyManager:

Создайте разрез в чертеже и нажмите Редактировать эскиз в PropertyManager или выберите существующий разрез.

Линия разреза

Реверс направления Также можно реверсировать направление разреза путем двойного нажатия на линию разреза.
Метка Изменение буквы, связанной с линией сечения и разрезом.
  Шрифт Чтобы выбрать шрифт для метки линии сечения, отличный от шрифта документа, удалите флажок Шрифт документа и выберите Шрифт. При изменении шрифта для метки линии сечения новый шрифт можно применить для метки разреза.

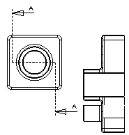
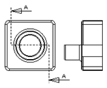
Разрез

Местное сечение Создает разрез, ограниченный длиной линии сечения, если линия не проходит через весь вид.
Секущая грань Отображает только грани, разрезанные линией сечения.
  Полное сечение

Местное сечение

Секущая грань

Авто-штриховка Для разных компонентов сборки или для разных тел в многотельных и сварных деталях используются разные шаблоны штриховки. Штриховка изменяется в разрезе сборки.
Случайный выбор масштаба
Случайный выбор масштаба штриховки для некоторых материалов в чертежном виде. Снимите этот флажок, чтобы сохранить одинаковый масштаб для всех штриховок нескольких деталей из одного материала.
Масштаб штриховки
Применение масштаба вида для штриховки в пределах вида.
Выбранный Не выбрана
Выделить контур
Подчеркивание контура граней выреза.
Выбранный Не выбрана
Скрыть переходы линии разреза
Доступно толь при создании вида
Укороченный вид
Доступно толь при создании вида

Тела поверхности


Отобразить поверхностные тела Отображает вид разреза тел поверхности из родительского вида модели. Можно применить к разрезу поверхности примечания, например заметки и размеры. Эта настройка распространяется на все сессии.
Резать поверхностные тела В разрезе отображается только линия пересечения поверхности.


Глубина сечения

Установка глубины разреза на указанное расстояние. Данный параметр доступен только для разрезов, у которых линия сечения состоит из единичного сегмента линии.

Разрезы с расстоянием применяются к компонентам, а не элементам.
Чтобы задать расстояние, выполните одно из следующих действий:
  • Установите значение для параметра Глубина .
  • Выберите геометрию, например кромку или ось, в родительском виде для Глубины .
  • Перетащите в графической области плоскость сечения розового цвета, чтобы установить глубину разреза. Все компоненты, находящиеся между линией сечения и плоскостью сечения, будут отображены в разрезе.
Предварительный просмотр

Импорт примечаний из

Импорт примечаний Выберите Импорт примечаний для выбранных типов примечания для импорта из документов детали или сборки ссылки.
Выберите параметры импорта примечаний:
  • Примечания проектирования
  • Примечания DimXpert
  • Включить элементы из скрытых элементов

Состояние отображения

Только для сборок. Выберите состояние отображения сборки, которую требуется разместить на чертеже.

Функция скрытия/отображения состояния отображения поддерживается для всех стилей отображения. Другие состояния отображения (режим отображения , цвет и т. д.) поддерживаются только для стилей Закрасить с кромками и Закрасить .

Тип отображения

Использовать родительский Отмените выбор этого параметра, чтобы выбрать тип и параметры качества, отличные от родительского вида.

Выберите стиль отображения.

Масштаб

Использовать родительский масштаб Используется масштаб родительского вида. При изменении масштаба родительского вида масштаб всех дочерних видов, использующих масштаб родительского вида, обновляется.
Использовать масштаб листа Используется масштаб чертежного листа.
Использовать масштаб пользователя Используется заданный пользователем масштаб. Если выбран параметр Пользовательская настройка, введите масштаб в поле в следующем формате: x:x или x/x. Выберите Использовать масштаб шрифта модели, чтобы сохранить геометрию, использованную в видах примечаний деталей.
Предварительно заданные параметры поля Использовать масштаб пользователя зависят от чертежного стандарта.

Тип размера

Размеры в чертежах могут быть следующими:
Верно Точные значения для модели.
Проекционный Двумерные размеры.

Тип размеров устанавливается тогда, когда вставляется чертежный вид. Тип размера можно просмотреть и изменить в PropertyManager для чертежного вида.

Установлены следующие правила для типов размеров:
  • SolidNetWork указывает типы размеров Проекционный для стандартных и настраиваемых ортогональных видов и Реальный для изометрического, диметрического и триметрического видов.
  • Если проекционный или вспомогательный вид создаются из другого вида, то для нового вида используется Проекционный тип размеров, даже если для исходного вида использовались типы размеров Реальный.

Условные изображения резьбы

Следующие настройки отменяют параметр Условные изображения резьбы в разделе Инструменты > Параметры > Свойства документа > Оформление при наличии условных изображений резьбы на виде чертежа.

Точно Отображение точной толщины линий и отсечения в условных изображениях резьбы. Если условные изображения резьбы отображаются только частично, при выборе параметра Высокое качество будет показана только видимая часть (будет точно показано, какие части видимы, а какие нет).
При выборе параметра Высокое качество для отображения условных изображений резьбы замедляется работа системы. Рекомендуется, пока не будет закончено размещение всех примечаний, отменить выбор этого параметра.
Черновое качество Отображение условных обозначений резьбы с меньшей детализацией. Если условные изображения резьбы отображаются только частично, при выборе параметра Черновое качество будет отображаться весь элемент.

Сохранить вид как

Разверните элемент Сохранить вид как, чтобы сохранить чертежный вид как файл Dxf или Dwg. Дополнительно можно перетащить манипулятор точки , чтобы задать в файле исходную точку, и выбрать Сохранить вид в формате DXF/DWG . Задайте параметры в диалоговом окне Сохранить как.
Функция Экспортировать только геометрию модели игнорирует другие примечания эскизов, связанные с выбранным видом.

Авто-обновление вида

Исключить из авто-обновления Исключение выбранных чертежных видов из автоматических обновлений, которые выполняются, если чертеж открыт, выбрано Автоматическое обновление вида и сохранены изменения модели.

Дополнительные свойства

См. Свойства чертежного вида.