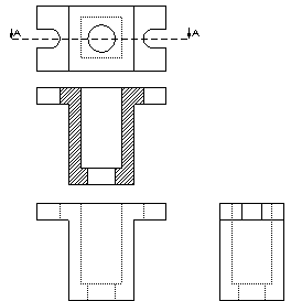
| Расположить прорезь в центре вида.
|
Используйте инструмент
Осевая линия
, чтобы создать горизонтальные и вертикальные вспомогательные линии.

|
| Создать горизонтальные кромки прорези.
|
Используйте инструмент
Смещение объектов
, чтобы сместить осевые линии.

|
| Удалить лишние объекты эскиза.
|
Используйте инструмент
Отсечь объекты
с параметром мощного отсечения.

|
| Создать дугу, чтобы охватить прорезь.
|
Используйте
Касательная дуга
.

|
| Удалить лишние объекты эскиза.
|
Используйте инструмент
Отсечь объекты
с параметром мощного отсечения.

|
| Создать симметричную прорезь на противоположной стороне чертежного вида.
|
Удалите вертикальную кромку на противоположной стороне чертежного вида (чтобы создать пространство для прорези), затем зеркально отразите прорезь с помощью
Зеркально отразить объекты
.
Видео: Зеркально отразить объекты

|